Запчасти Case IH 6100 (9-22) - LIQUID FERTILIZER PISTON PUMP SYSTEM, PUMP MOUNTING AND DRIVE PARTS, 6 ROW AND 8 ROW COULTER FRAMES (09) - CHASSIS/ATTACHMENTS

Схема запчастей Case IH 6100 - (9-22) - LIQUID FERTILIZER PISTON PUMP SYSTEM, PUMP MOUNTING AND DRIVE PARTS, 6 ROW AND 8 ROW COULTER FRAMES (09) - CHASSIS/ATTACHMENTS
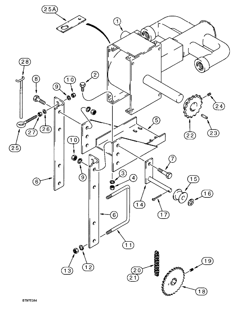
21
5
10
25a
7
3
22
24
14
28
10
27
9
15
4
16
8
26
1
6
19
11
2
20
18
6
9
12
13
17
25
23
FIT
1:1
100%

Артикул

Название

Примечание

Количество

1

225440A1

PUMP

ASSEMBLY - piston, liquid fertilizer

1шт.

2

413-616

BOLT,Hex, 3/8" - 16 x 1", Gr 5

4шт.

3

492-11038

LOCK WASHER,3/8"

4шт.

4

425-106

NUT,3/8"-16, Cl 5

4шт.

5

225442A1

MOUNTING PARTS

BRACKET - mounting, piston pump

1шт.

6

230485A1

ANGLE

- mounting, piston pump

2шт.

7

413-832

BOLT,Hex, 1/2" - 13 x 2", Gr 5

1шт.

8

413-820

BOLT,Hex, 1/2" - 13 x 1-1/4", Gr 5

3шт.

9

80679

LOCK WASHER,1/20.507 CST ZND

WASHER, LOCK, 1/2"

4шт.

10

425-108

NUT,1/2" - 13, Gr 5

NUT, , Hex 1/2"-13, G5

4шт.

11

229984A1

U-BOLT,1/2" - 13 x 5 1/4", Carbon Steel

- 1/2 inch NC, 6 x 4 inch

2шт.

12

80679

LOCK WASHER,1/20.507 CST ZND

WASHER, LOCK, 1/2"

4шт.

13

425-108

NUT,1/2" - 13, Gr 5

NUT, , Hex 1/2"-13, G5

4шт.

14

196177A1

BRACKET

- idler roller, drive chain

1шт.

15

1277726C1

ROLLER,48mm OD x 34mm L

- idler

1шт.

16

495-81178

WASHER,21/32" x 1 1/8" x .048"

- flat, 21/32 x 1-1/8 x 3/64 inch

1шт.

17

432-1224

COTTER PIN,3/16" x 1-1/2"

3/16" x 1 1/2"

1шт.

18

233117A1

SPROCKET ASSY.

SPROCKET - drive, 30 teeth, pump, at drive shaft

1шт.

19

483-1508

SET SCREW,Hex Soc, 1/2"-13 x 1/2"

SCREW - set, hex socket headless, 1/2 NC x 1/2 inch, cup point

2шт.

20

241925A1

CHAIN (AG)

CHAIN - drive, use 98 links from 1790D bulk chain plus (1) 241-1314 connecting link, see below

1шт.

21

241-1314

CHAIN LINK

LINK - connecting, single pitch, No. 40, 1/2 inch pitch

1шт.

22

225453A1

SPROCKET ASSY.

SPROCKET - driven, 15 teeth, pump, at pump shaft

1шт.

23

Q53

KEY,1/4" Sq x 1", Par

1шт.

24

483-1254

SET SCREW,Hex Soc, 1/4"-20 x 1/4"

SCREW - set, hex socket headless, 1/4 NC x 1/4 inch, cup pt

2шт.

25

295034A1

BRACKET

EYEBOLT - special, tool storage, if used (replaces 225452A1)

1шт.

25a

295034A1

BRACKET

- tool storage, if used

1шт.

26

495-21044

WASHER,3/8"

(flat, 7/16 x 1 x 5/64 inch) 3/8"

2шт.

27

425-106

NUT,3/8"-16, Cl 5

2шт.

28

225441A1

TOOL

- special, piston pump adjustment

1шт.

29

226947A1

INSTRUCTION

CHART - pump rate, not shown

1шт.

1790D

CHAIN (AG)

CHAIN - bulk, 10 foot roll

1шт.

Выбрано товаров: 31