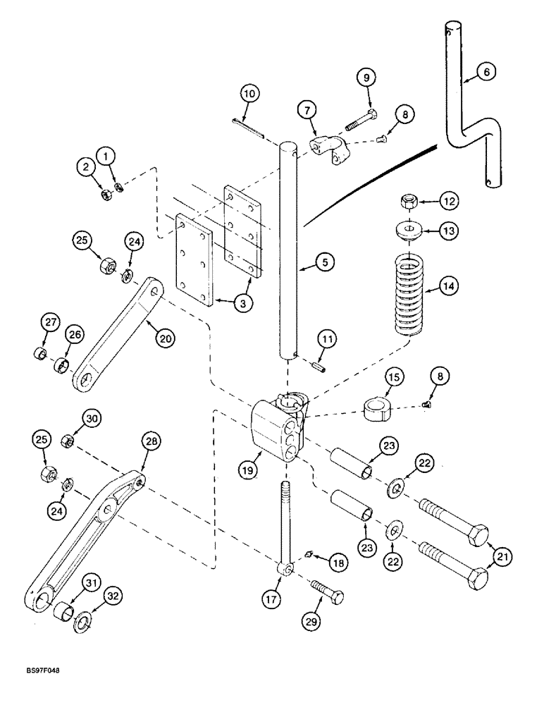
Запчасти Case IH 6100 (9-36) - NO-TILL COULTER, WITH VERTICAL CUSHION SPRING, PIVOT COMPONENTS LIQUID AND DRY FERTILIZER (09) - CHASSIS/ATTACHMENTS

Схема запчастей Case IH 6100 - (9-36) - NO-TILL COULTER, WITH VERTICAL CUSHION SPRING, PIVOT COMPONENTS LIQUID AND DRY FERTILIZER (09) - CHASSIS/ATTACHMENTS
9
8
25
10
14
1
2
26
28
23
5
22
8
24
32
11
12
27
15
30
13
18
3
23
24
22
29
17
21
31
7
19
20
6
25
FIT
1:1
100%

Артикул

Название

Примечание

Количество

1

80679

LOCK WASHER,1/20.507 CST ZND

WASHER, LOCK, 1/2"

8шт.

2

425-108

NUT,1/2" - 13, Gr 5

NUT, , Hex 1/2"-13, G5

8шт.

3

1986499C1

PLATE

- clamp

2шт.

5

1344510C1

SHANK

- straight, 22 inch, liquid fertilizer

1шт.

6

118038A1

SHANK

- offset, 22 inch, dry fertilizer

1шт.

7

1344520C1

SPECIAL CLAMP

- shank

2шт.

8

85-16216

SET SCREW,Sq Hd, 5/8"-11 x 1"

SCREW - set, square head, 5/8 NC x 1 inch, cup point

3шт.

9

413-888

BOLT,Hex, 1/2" - 13 x 5-1/2", Gr 5

- hex, 1/2 NC x 5-1/2 inch

4шт.

10

432-2040

COTTER PIN,5/16" x 2 1/2"

Pin, Split (Cotter), 5/16" x 2 1/2"

1шт.

11

38-32440

PIN,3/8" x 2 1/2", Coiled

1шт.

12

231-14412

LOCK NUT,3/4"-10, GB

NUT - hex, self-locking, 3/4 inch NC

1шт.

13

1986492C1

BUSHING

- spring

1шт.

14

1986493C1

SPRING

- 7/16 x 2-1/2 inch OD

1шт.

15

1986495C1

COLLAR

- locking

1шт.

16

1986496C1

DECAL

- adjustment critical, not shown, see page 9-45, item 23

1шт.

17

116942A1

ROD

- pressure

1шт.

18

219-87

LUBE NIPPLE,1/4" - 28 NPTF

NIPPLE, LUBE, 1/4"-28 x .56" lg, Self-Tap

5шт.

19

1986487C1

PIVOT

- coulter, right-hand (Shown)

1шт.

19

1986488C1

PIVOT

- coulter, left-hand

1шт.

20

1986490C1

ARM ASSY.

ARM - upper parallel

1шт.

21

413-1296

BOLT,Hex, 3/4" - 10 x 6", Gr 5

- hex, 3/4 NC x 6 inch

2шт.

22

495-81046

WASHER,25/32" x 2" x .120"

- flat, 25/32 x 2 x 1/8 inch

2шт.

23

1986486C1

SLEEVE

- pivot

2шт.

24

492-11075

LOCK WASHER,3/4"

3/4"

2шт.

25

425-1012

NUT,3/4"-10, G5

- hex, 3/4 inch NC

2шт.

26

1986497C1

BUSHING,25.4mm ID x 31.8mm OD x 12.7mm L

1 1/4 X 1 X 1/2 BRONZE

1шт.

27

1986491C1

BUSHING

SLEEVE - upper bushing carrier

1шт.

28

1986482C1

ARM ASSY.

ARM - lower parallel

1шт.

29

414-1040

BOLT,Hex, 5/8" - 18 x 2-1/2", Gr 5

- hex, 5/8 NF x 2-1/2 inch

2шт.

30

425-1010

NUT,5/8"-11, G5

2шт.

31

1986498C1

BUSHING

- 1 x 1-1/4 x 1/2 inch, special

1шт.

32

1986481C1

WASHER

SPACER - 1-1/4 x 2-1/4 x 9/64 inch, special

1шт.

Выбрано товаров: 32