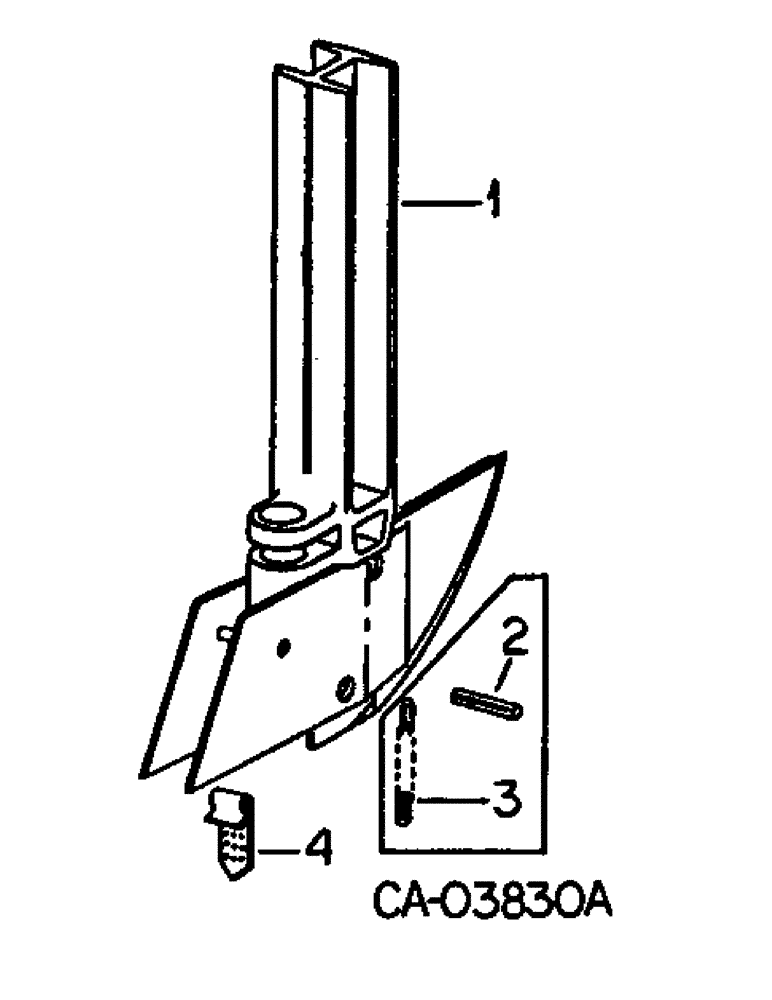
Запчасти Case IH 92 (D-10) - RUNNER OPENER ASSY, QUANTITIES SHOWN ARE PER ROW

Схема запчастей Case IH 92 - (D-10) - RUNNER OPENER ASSY, QUANTITIES SHOWN ARE PER ROW
4
3
1
2
FIT
1:1
100%

Артикул

Название

Примечание

Количество

1

58201C92

OPENER

ASSY, runner

1шт.

125813C1

SPACER

PIN, spreader

1шт.

2

19442R1

PIN,3/16" x 1 1/2", Coiled

Used w/opener assy, 58201C91 3/16" x 1 1/2", Coiled

1шт.

3

548451R1

CHAIN (AG)

CHAIN, seed cover, used w/opener assy, 58201C91

4шт.

4

125685C1

SUPPORT

runner wing, arm, used w/opener assy, 58201C92

1шт.

Выбрано товаров: 5