Качественные детали и логистика
Оригинальные и аналоговые запчасти с доставкой по России, Казахстану и Беларуси
©2022 PartSell ООО "Система" ИНН 2463123282 ОГРН 1212400004838
Центральный офис: г. Красноярск, Академика Киренского, д.87, пом.4
Телефон: 8 (800) 777-65-74 Email: zakaz@partsell.ru
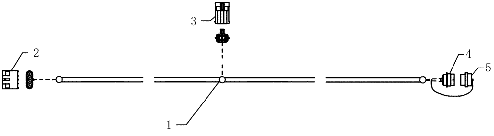
(55.100.03) - HARNESS 87494008, EXTENSION, TOW BEHIND
№
Артикул
Название
Примечание
Количество
1
87494008
HARNESS
Extension, Tow Behind
1шт.
2
245487C1
ELEC CONNECTOR,Male, 4 Pin
4 Way Recepacle
3
256349A1
ELEC CONNECTOR,Male, 6 Pin
6 Pin Plug
4
352506A1
ELEC CONNECTOR,Male, 9 Pin
metal 9c receptacle
5
245041C1
CAP
dust 23 cond plug Deutsch
Выбрано товаров: 0