Запчасти Case IH 800 (75.200.07) - OPENER - NH3 (75) - SOIL PREPARATION

Схема запчастей Case IH 800 - (75.200.07) - OPENER - NH3 (75) - SOIL PREPARATION
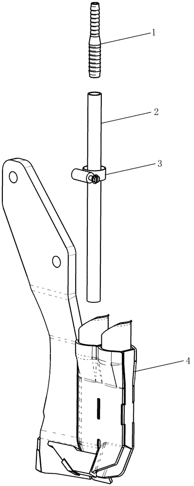
1
2
4
3
FIT
1:1
100%

Артикул

Название

Примечание

Количество

1a

87699216

FITTING

1/2" HB x 3/8" HB

1шт.

3/8

1шт.

Shown

1шт.

1b

87699215

FITTING

1/2" HB x 1/2" HB

1шт.

Not Shown

1шт.

1/2

1шт.

2

87699220

TUBE,12.7 mm ID x 15.88 mm OD x 254 mm L

15.88 mm od x 12.7 mm id x 254 mm

1шт.

3

86536660

HOSE CLAMP,25mm - 44mm

1шт.

4

84251947

KNIFE

LH

1шт.

Shown

1шт.

4

84251948

KNIFE

RH

1шт.

Not Shown

1шт.

5

87737815

KIT

NH3 Pipe Insert 3/8" System (Includes Ref#'s 1A,2,3,7,8 and 9)

1шт.

6

87737816

KIT

NH3 Pipe Insert 1/2" System (Includes Ref#'s 1B,2,3,7,8 and 9)

1шт.

7

84361786

SUPPORT TUBE

Rubber Cap

1шт.

8

87557087

CABLE TIE

CABLE STRAP Not Shown

1шт.

9

1327

HOSE CLAMP,#20, 0.81/1.75 Type F Worm

Not Shown

1шт.

Выбрано товаров: 0