Качественные детали и логистика
Оригинальные и аналоговые запчасти с доставкой по России, Казахстану и Беларуси
©2022 PartSell ООО "Система" ИНН 2463123282 ОГРН 1212400004838
Центральный офис: г. Красноярск, Академика Киренского, д.87, пом.4
Телефон: 8 (800) 777-65-74 Email: zakaz@partsell.ru
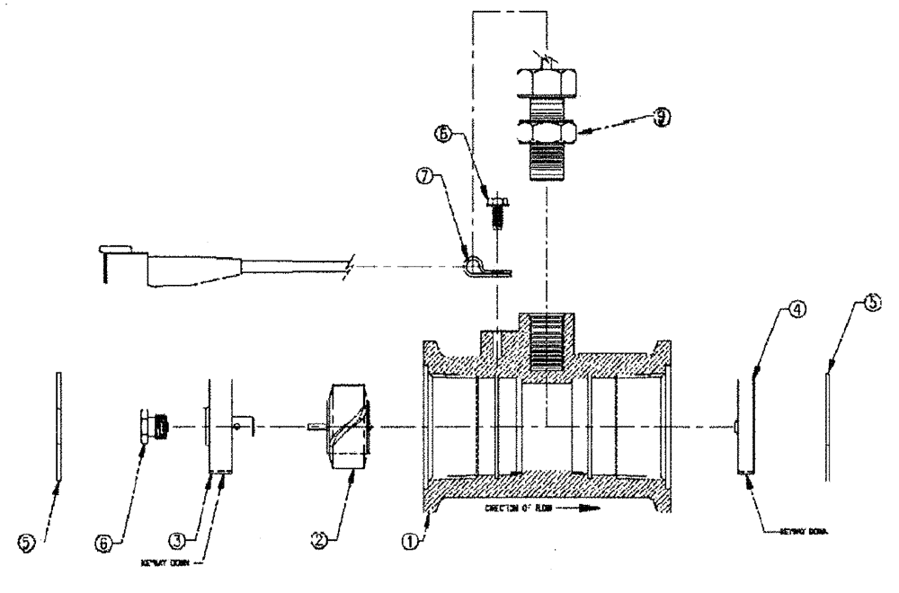
(09-022) - FLOW METER
№
Артикул
Название
Примечание
Количество
0
87271267
MEASURING INSTRUMENT
Flowmeter, RFM60P H/P W/D
1шт.
1
87515995
BODY
RFM 60 P
2
87515996
MAGNET
Rotor, Assembly
3
87515998
BEARING ASSY
Bearing Assembly, Upstream
4
87516000
HUB
Assembly, Downstream
5
87516001
RING
Internal Retaining
2шт.
6
87516002
BEARING
Bearing, Raven
7
87516003
WIRE CLAMP
Cable, Raven
9
87516007
SENSOR
Assembly, External
Выбрано товаров: 0