Запчасти Case IH 3150 (03-004) - FLYWHEEL COUPLER ASSEMBLY (01) - ENGINE

Схема запчастей Case IH 3150 - (03-004) - FLYWHEEL COUPLER ASSEMBLY (01) - ENGINE
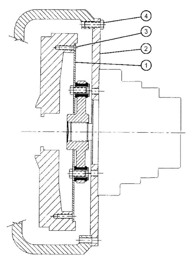
1
3
4
2
FIT
1:1
100%

Артикул

Название

Примечание

Количество

BN66474

PLATE

COUPLER ASSY, PUMP MT

1шт.

Includes Refs. 1 & 2

1шт.

1

BN312892

FLYWHEEL

COUPLER

1шт.

2

BN309956

PLATE

pump mount

1шт.

3

87342574

BOLT

Hex, 3/8"-16 x 3/4", G8

8шт.

4

86980401

BOLT,Hex, M10 x 1.5 x 30mm, Cl 8.8, Full Thd

10шт.

86980402

BOLT,Hex, M10 x 1.5 x 35mm, Cl 8.8, Full Thd

2шт.

Associated Part of Bolt, M10 1.5 X 30 HH 8.8, P/N 86980402

1шт.

Hydrostat cable mount

1шт.

BN300499

WASHER,M10, 10.9

2шт.

Associated Part of Bolt, M10 1.5 X 30 HH 8.8, P/N 86980402

1шт.

Hydrostat cable mount

1шт.

Выбрано товаров: 12