Запчасти Case IH 3150 (03-043) - HYDROSTAT LINKAGE PACKAGE (01) - ENGINE

Схема запчастей Case IH 3150 - (03-043) - HYDROSTAT LINKAGE PACKAGE (01) - ENGINE
6
3
5
7
7
4
2
3
5
6
4
1
FIT
1:1
100%

Артикул

Название

Примечание

Количество

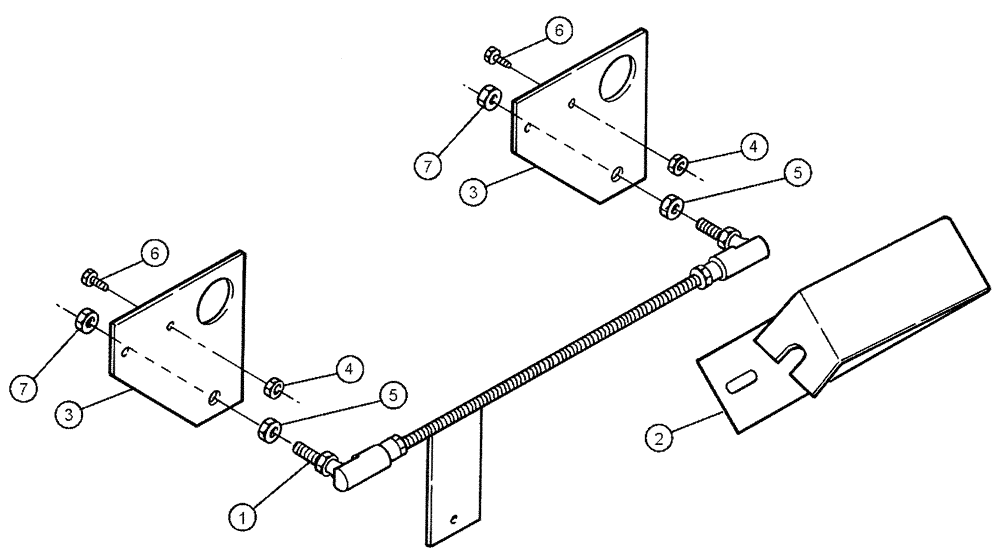
1

87271144

LINKAGE

Shift Assembly, 782, Start Serial: 7430

1шт.

See Fig. 03-044

1шт.

BN312069

1шт.

Indicates Old Part Number or Can Order Newer Part Number Listed above

1шт.

2

BN24921

BRACKET

Mount-1/4" Hr 1.75 x 10.70

1шт.

3

BN25901

BRACKET

7 ga. 3" x 3" 304 SS

2шт.

4

280129

NUT,1/4"-20

4шт.

5

86509310

NUT,3/8" - 24, Gr 5

2шт.

6

86505867

BOLT,Hex, 1/4" - 20 x 1", Gr 5

4шт.

7

BN50995

LOCK NUT

3/8"-24 UNF, Centerloc

2шт.

Выбрано товаров: 10