Запчасти Case IH 3150 (10-006) - SIS GROUP (13) - DECALS

Схема запчастей Case IH 3150 - (10-006) - SIS GROUP (13) - DECALS
8
7
3
2
3
1
9
5
4
5
6
FIT
1:1
100%

Артикул

Название

Примечание

Количество

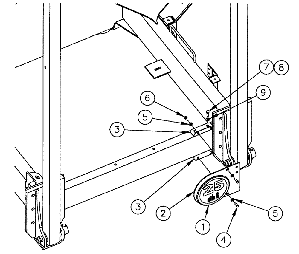
1

87545426

DECAL

25 mph speed sign

1шт.

2

87523676

PLATE

SIS MOUNT

1шт.

3

87543912

MOUNT

SIS Decal

2шт.

4

BN50476

BOLT,5/16"-18 x 0.75", Stainless

2шт.

5

BN50142

WASHER,5/16", Stainless Steel

4шт.

6

BN55361

NUT,5/16"-18, Nylon, Stainless

2шт.

7

87342767

BOLT

3/8"-16 x 1-1/2", G5, Full Thd

2шт.

8

87343970

NUT,3/8"-16, G8, DOR

2шт.

9

87529237

WASHER,0.41" ID x 0.81" OD x 0.07" Thk

0.406 x 0.812 x 0.065, HTS, DOR, HDN

1шт.

Выбрано товаров: 0