Запчасти Case IH 3150 (01-010[02]) - PROPEL HANDLE SUB ASSEMBLY Cab Interior

Схема запчастей Case IH 3150 - (01-010[02]) - PROPEL HANDLE SUB ASSEMBLY Cab Interior
1
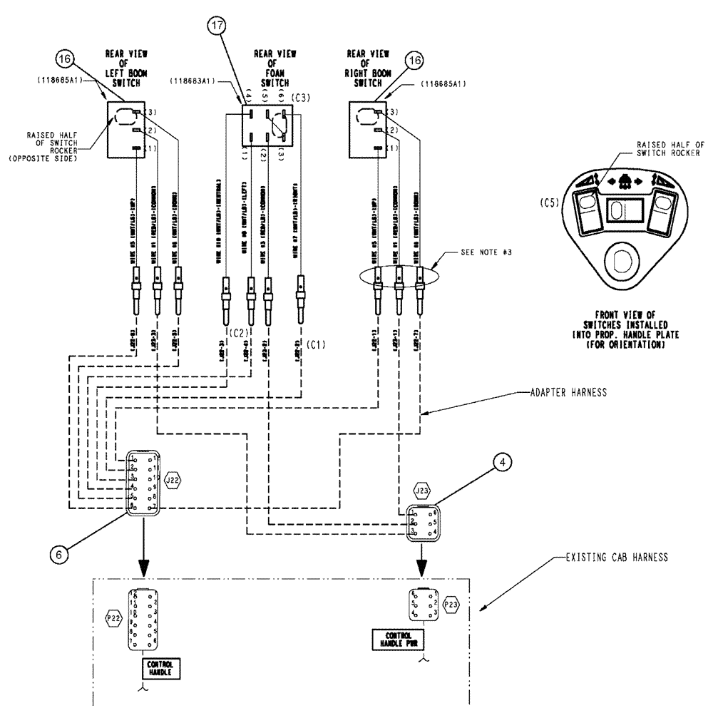
17
16
6
4
FIT
1:1
100%

Артикул

Название

Примечание

Количество

1

116150A1

SUPPORT

palm rest LH

1шт.

2

116152A1

SUPPORT

palm rest RH

1шт.

3

1343962C1

CLIP,ELECTRICAL

Palm Rest

1шт.

4

225350C1

ELEC CONNECTOR,Male, 6 Pin

6 pin type LY

1шт.

5

225353C1

WEDGE,Lock, Black

TYPE W6P

1шт.

6

225388C1

ELEC CONNECTOR,Male, 12 Pin

12 pin type NA

1шт.

7

87055164

WEDGE

Type W 12P

1шт.

8

260-54310

SELF-TAP SCREW,Cross Pan Hd, #6 x 5/8"

1шт.

9

86625127

PLUG,Dome, .375" hole, Nylon

1шт.

10

86987885

KNOB

PALM REST

1шт.

11

BN2290332

LOOM

Split 3/4" id #1789

1шт.

12

87270578

DECAL

Propel Handle, 96 1/2

1шт.

13

124670A1

COVER PLATE

propulsion control, cotton

1шт.

14

BN323510

LEVER

prop control

1шт.

See Fig. 01-011

1шт.

15

BN50054

NUT,1/4"-20, SS

1шт.

16

118685A1

SWITCH

basket raise/lower

2шт.

17

118683A1

SWITCH

unloader swing

1шт.

18

87271307

PLUG

Double D

1шт.

Выбрано товаров: 19