Запчасти Case IH 3150 (06-025) - OIL TANK GROUP BEFORE SERIAL #20056 Hydraulic Plumbing

Схема запчастей Case IH 3150 - (06-025) - OIL TANK GROUP BEFORE SERIAL #20056 Hydraulic Plumbing
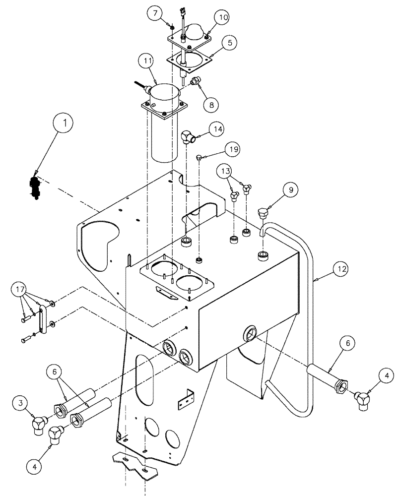
8
6
17
19
6
7
4
3
1
12
13
4
5
9
14
11
10
FIT
1:1
100%

Артикул

Название

Примечание

Количество

1

87105048

DRAINCOCK/TAP SUPPLY

Valve, Hydraulic

1шт.

3

BN52037

ADAPTER

90º OR 37 FL20-24

1шт.

4

BN52337

FITTING

20MJ-20MB X 90

2шт.

5

BN302982

GASKET,3.17mm Thk

COVER PLATE

1шт.

6

BN303528

STRAINER ASSY.

32MB X 20FB, 100

3шт.

7

86505868

SERRATED NUT,Hex, M8 x 1.25, Cl 8

8шт.

8

BN53927

ADAPTER

90º 16 O-Ring-12 JIC

1шт.

9

BN60479

PLUG

1-5/16-12 O-RING-HEX

1шт.

10

BN322802

SWITCH

Level Temp Grp

1шт.

11

87270935

FILTER

Intank, SAE 24, 6ABS, Start Serial: 7053

1шт.

BN306031

ELEMENT

TANK, SAE 24, 6ABS

1шт.

Before Serial Number 20056

1шт.

12

87270551

TANK

Oil

1шт.

13

BN445001

FITTING

12MJ-12MB X 90

2шт.

14

BN51621

FITTING

16MJ-16MB X 90

1шт.

17

BN322594

GAUGE

sight with temperature

1шт.

19

BN446048

PLUG

HEX O-RING,-6,9/16-18

1шт.

Выбрано товаров: 17