Запчасти Case IH 3185 (09-049) - 90 CENTER, 20" OFF, DUAL WILGER Liquid Plumbing

Схема запчастей Case IH 3185 - (09-049) - 90 CENTER, 20" OFF, DUAL WILGER Liquid Plumbing
5
8
12
2
6
3
7
9
1
10
4
11
FIT
1:1
100%

Артикул

Название

Примечание

Количество

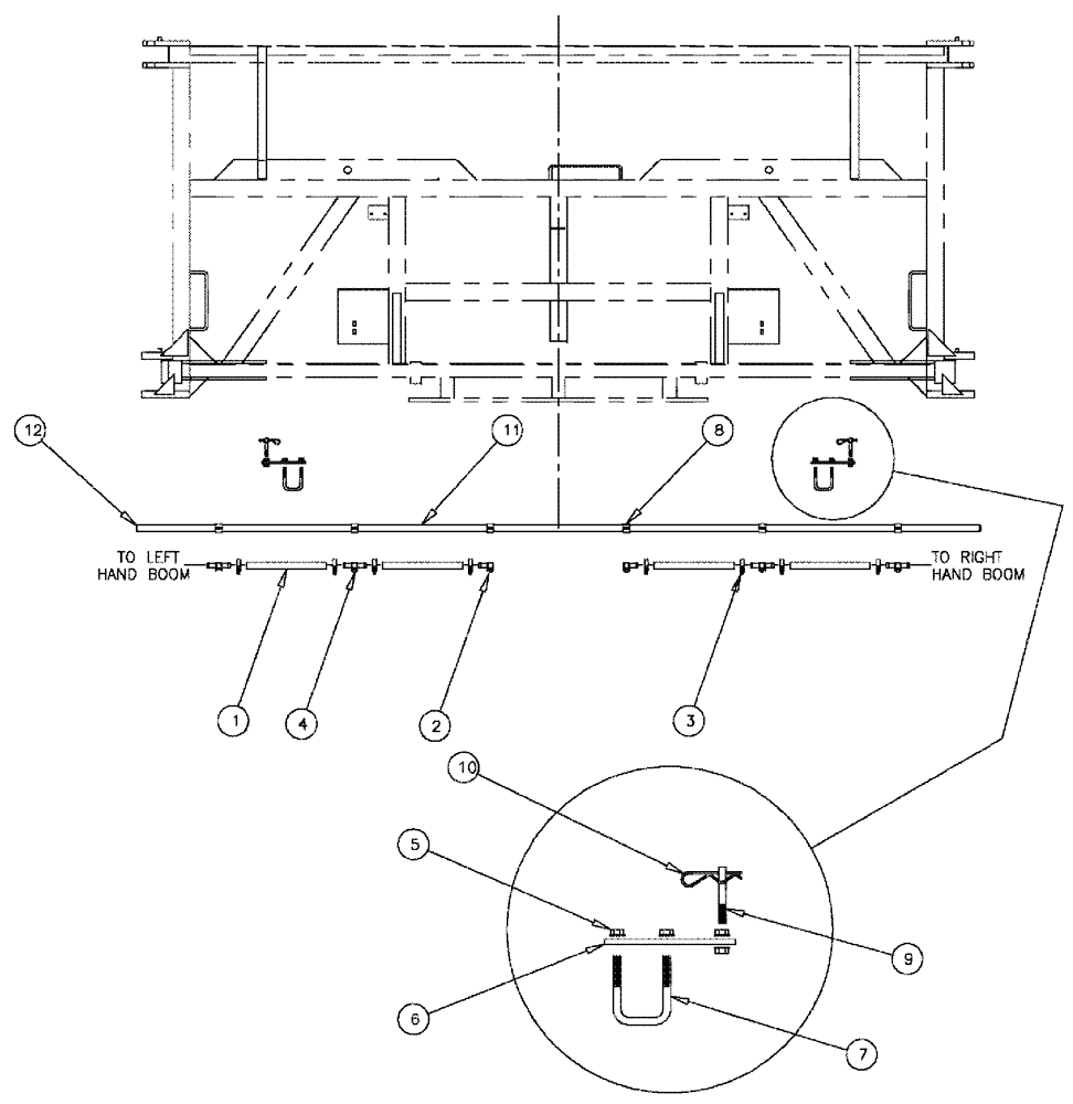
1

BN53738

FLEXIBLE HOSE,0.75" ID x 18.50"

4шт.

2

NS

NOT SERVICED

1 Way Wilger Assembly

2шт.

See Fig. 11-011

1шт.

3

BN75978

HOSE CLAMP

SS, No. 12 adj., HS, .56-1.25

8шт.

4

NS

NOT SERVICED

2 Way Wilger Assembly

4шт.

See Fig. 11-010

1шт.

5

BN50062

LOCK NUT,3/8"-16, Stainless Steel

8шт.

6

BN67279

BRACKET

mount, dry boom

2шт.

7

BN319919

U-BOLT

Sq. Bend 2.06 ID x 3/8

2шт.

9

BN29599

PIN,9.53mm OD x 64mm L

Rework Bolt 3/8"-16 x 2.75

2шт.

10

BN71006

COTTER PIN

1/8", #11

2шт.

11

BN24486

TUBE

1" Sq x 124"

1шт.

12

BN32823

PLUG

Cap - Tubing - Fits 1 x 1 x 14G

2шт.

Выбрано товаров: 0