Качественные детали и логистика
Оригинальные и аналоговые запчасти с доставкой по России, Казахстану и Беларуси
©2022 PartSell ООО "Система" ИНН 2463123282 ОГРН 1212400004838
Центральный офис: г. Красноярск, Академика Киренского, д.87, пом.4
Телефон: 8 (800) 777-65-74 Email: zakaz@partsell.ru
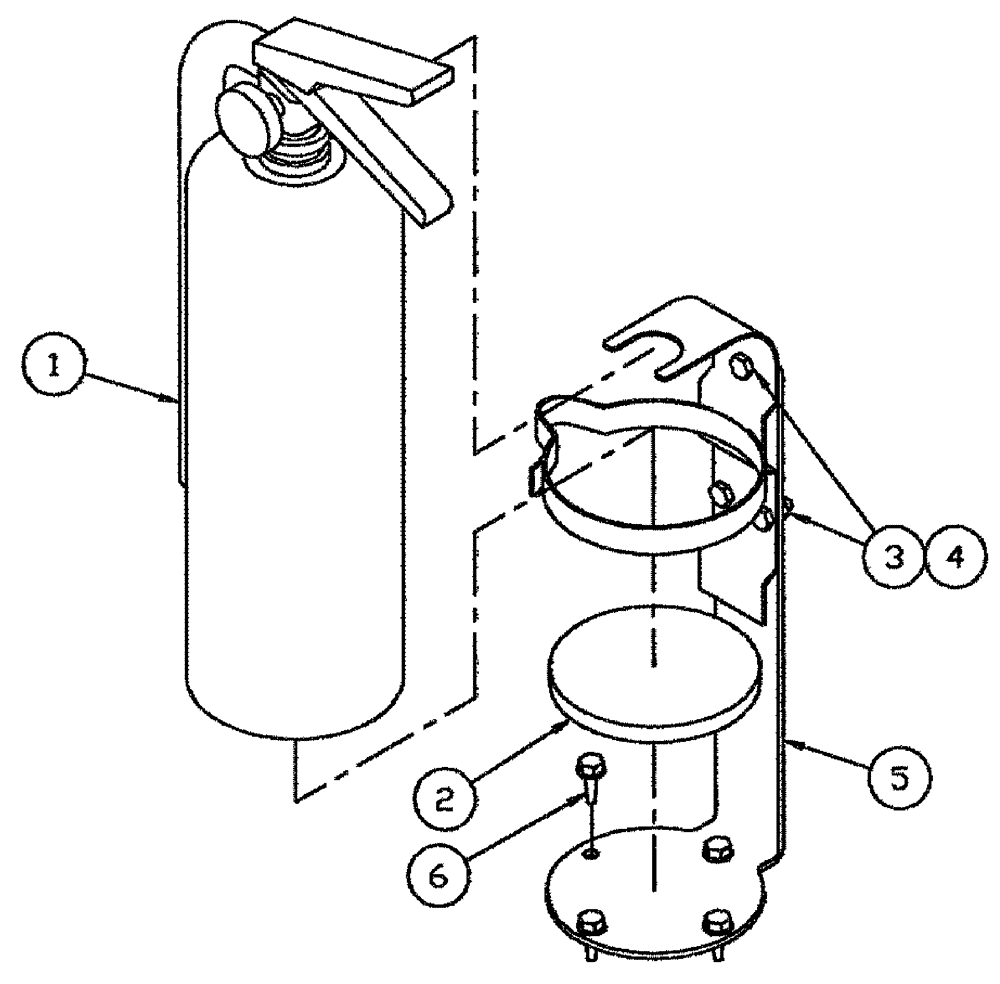
(11-005) - FIRE EXTINGUISHER GROUP
№
Артикул
Название
Примечание
Количество
1
BN2293569
FIRE EXTINGUISHER
1шт.
2
BN325858
SUPPORT
foam
3
BN52033
BOLT,1/4"-20 X 5/8", Stainless Steel
3шт.
4
BN55359
LOCK NUT,1/4"-20, SS
5
86986056
fire extinguisher
6
276-14712
SELF-TAP SCREW,Hex Hd, 1/4" x 3/4"
4шт.
Выбрано товаров: 0