Запчасти Case IH 3185 (02-006) - A/C PACKAGE Cab Exterior

Схема запчастей Case IH 3185 - (02-006) - A/C PACKAGE Cab Exterior
4
2
1
3
FIT
1:1
100%

Артикул

Название

Примечание

Количество

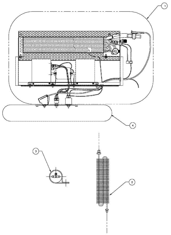
1

BN311013

HOUSING ASSY.

evaporator

1шт.

See Fig. 02-007

1шт.

2

BN67785

CONDENSER

Coil

1шт.

3

BN317005

1шт.

See Fig. 02-008

1шт.

4

BN311014

PACKAGE

PARTS - LOUVER & MISC.

1шт.

See Fig. 02-009

1шт.

5

BN67795

HOSE

2шт.

6

BN67796

TUBE

POLY LOOM DRAIN

3шт.

Выбрано товаров: 9