Запчасти Case IH 3185 (03-004) - FLYWHEEL COUPLER ASSEMBLY (01) - ENGINE

Схема запчастей Case IH 3185 - (03-004) - FLYWHEEL COUPLER ASSEMBLY (01) - ENGINE
2
3
1
4
FIT
1:1
100%

Артикул

Название

Примечание

Количество

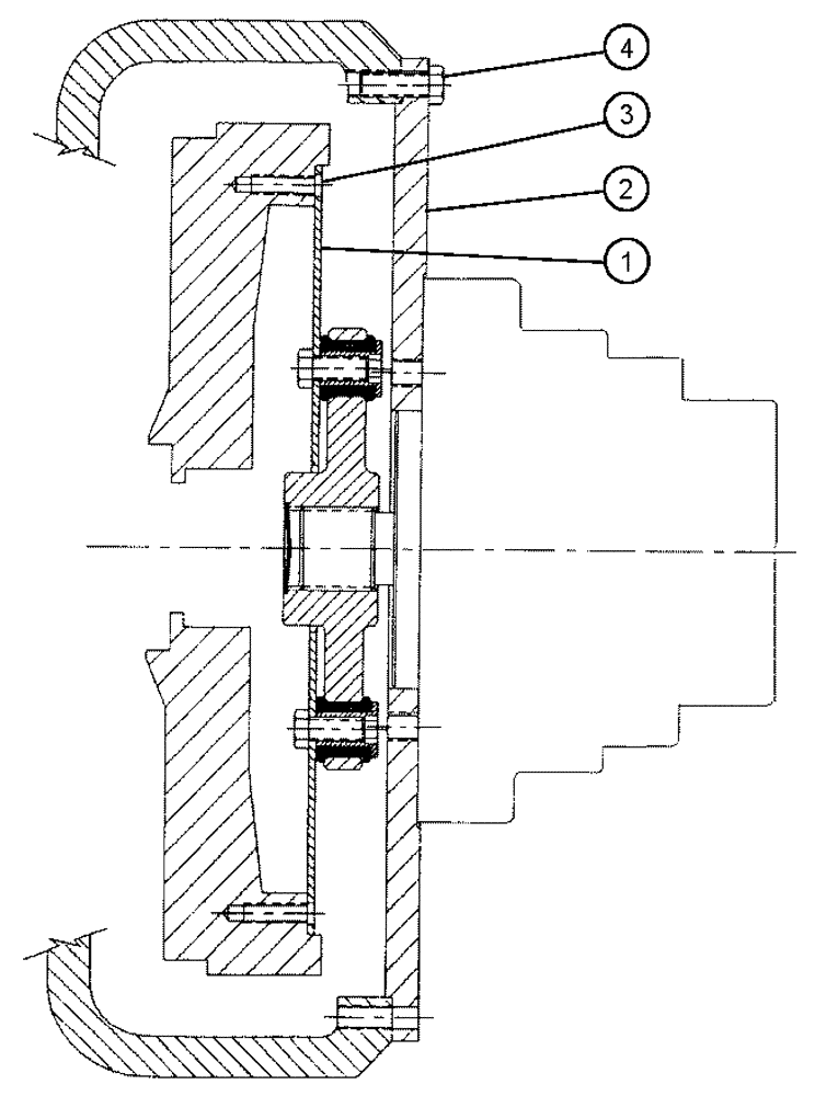
1

BN25680

COUPLING

Flywheel & Mount Plate Assembly

1шт.

Includes Refs. 1 & 2

1шт.

1a

BN309955

FLYWHEEL

COUPLER

1шт.

2

BN309956

PLATE

pump mount

1шт.

3

BN311109

NUT

HH, 3/8"-16 x .75, G8

8шт.

4

43140

BOLT,Hex, M10 x 1.5 x 30mm, Cl 8.8

10шт.

5

9706704

BOLT,Hex, M10 x 1.5 x 41.58mm, Cl 8.8

2шт.

Associated Part of Bolt, M10-1.5 X 30 Znd 8.8, P/N 614-10030

1шт.

Hydrostat cable mount

1шт.

6

BN300499

WASHER,M10, 10.9

2шт.

Associated Part of Bolt, M10-1.5 X 30 Znd 8.8, P/N 614-10030

1шт.

Hydrostat cable mount

1шт.

Выбрано товаров: 12