Качественные детали и логистика
Оригинальные и аналоговые запчасти с доставкой по России, Казахстану и Беларуси
©2022 PartSell ООО "Система" ИНН 2463123282 ОГРН 1212400004838
Центральный офис: г. Красноярск, Академика Киренского, д.87, пом.4
Телефон: 8 (800) 777-65-74 Email: zakaz@partsell.ru
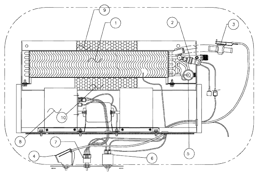
(02-007) - EVAPORATOR HOUSING ASSEMBLY
№
Артикул
Название
Примечание
Количество
1
BN311015
EVAPORATOR
HEATER COIL
1шт.
2
BN69702
PRESSURE SWITCH
Low
3
BN69708
VALVE
Water, Inline
4
BN311016
CABLE
PUSH PULL ASSY
5
BN69872
VALVE, THERMAL EXPAN,Air Conditioing
Expansion
6
BN69703
SWITCH
Cold Control
7
73107110
BLOWER SWITCH
3 Speed
8
BN69704
BLOWER
12V
9
87268348
FOAM
evaporator front
10
87268349
evaporator rear
Выбрано товаров: 0