Качественные детали и логистика
Оригинальные и аналоговые запчасти с доставкой по России, Казахстану и Беларуси
©2022 PartSell ООО "Система" ИНН 2463123282 ОГРН 1212400004838
Центральный офис: г. Красноярск, Академика Киренского, д.87, пом.4
Телефон: 8 (800) 777-65-74 Email: zakaz@partsell.ru
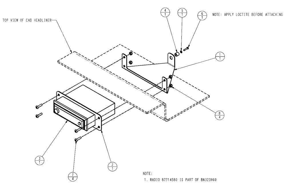
(01-014) - RADIO GROUP W/DIN MOUNT
№
Артикул
Название
Примечание
Количество
1
BN323695
BRACKET, SUPPORTING
1шт.
2
BN323834
PLATE
radio mount
4шт.
3
BN323960
SEE FIG. 01-015
4
87271789
SPACER
Nylon, .219 x 0.5 x 0.5
5
87529300
WASHER,4.4mm ID x 9mm OD x 0.8mm Thk
6
86511824
SCREW,Phillips Drive, Pan HD, M4 x 0.7 x 20mm, Cl 4.8
7
BN315877
SCREW,1/4" - 20 x 1"
8
BN55359
LOCK NUT,1/4"-20, SS
Выбрано товаров: 0