Качественные детали и логистика
Оригинальные и аналоговые запчасти с доставкой по России, Казахстану и Беларуси
©2022 PartSell ООО "Система" ИНН 2463123282 ОГРН 1212400004838
Центральный офис: г. Красноярск, Академика Киренского, д.87, пом.4
Телефон: 8 (800) 777-65-74 Email: zakaz@partsell.ru
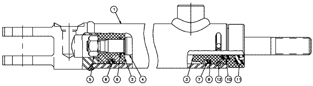
(07-014) - FRONT LADDER FOLD
№
Артикул
Название
Примечание
Количество
87268691
SEAL KIT
1"
1шт.
Includes Refs. 6 - 12
4
87268695
ROD,12.7mm OD x 255.78mm L
Cylinder
87266443
HYDRAULIC CYLINDER,12.7mm Rod, 152.4mm Stroke
1 x 6 x 0.5, Complete
Выбрано товаров: 0