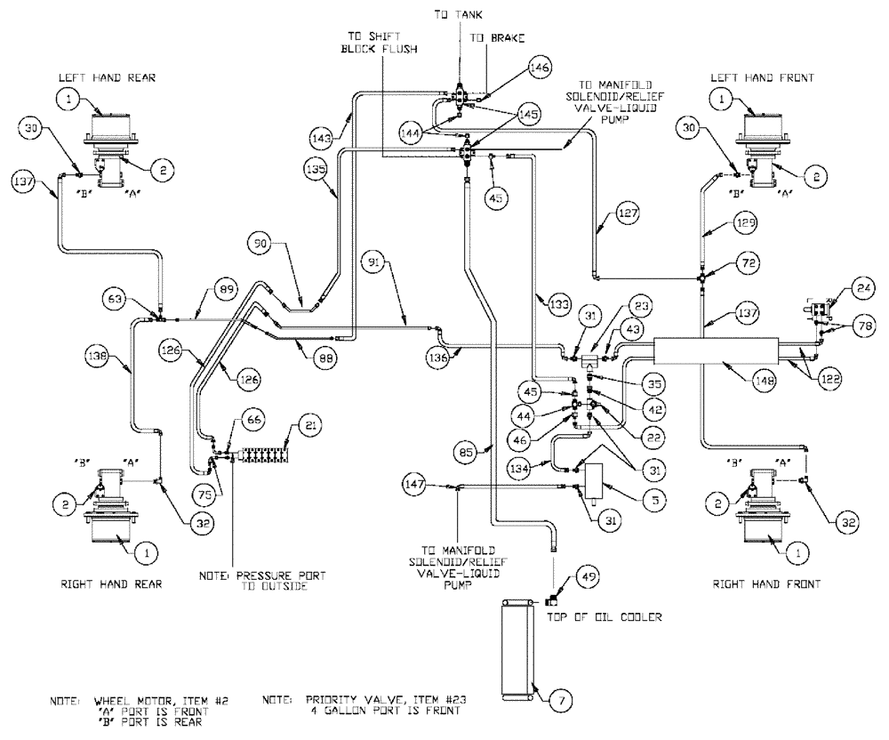
Запчасти Case IH 3185 (06-001) - BASIC UNIT Hydraulic Plumbing

Схема запчастей Case IH 3185 - (06-001) - BASIC UNIT Hydraulic Plumbing
66
90
147
137
72
7
126
32
45
2
126
129
63
1
90
136
44
32
143
1
127
1
2
145
35
146
148
21
135
30
134
22
5
89
75
145
46
137
49
85
144
42
2
30
1
30
138
88
31
FIT
1:1
100%

Артикул

Название

Примечание

Количество

1

87270303

HUB

POWER WHEEL

1шт.

See Fig. 05-001

1шт.

1a

BN27372

CAP

hub cover

4шт.

Associated Part of Hub, Power Wheel, P/N 87270303

1шт.

2

BN25866

MOTOR,GEAR, 24.6 CC

wheel

4шт.

See Fig. 06-027

1шт.

BN25866R

REMAN-HYD MOTOR

3185,

4шт.

BN25866C

CORE-HYDRAULIC PUMP

Return Number

1шт.

2a

BN54033

O-RING,0.103" Thk x 3.987" ID, -155, Cl 5, 75 Duro

(BETWEEN WHEEL HUB & MOTOR)

4шт.

Service Parts for Ref. 2

1шт.

5

BN67039

PUMP

Hydraulic Tandem CW Rotation

1шт.

5a

BN98608

SEAL

shaft, for BN27195

1шт.

Service Parts for Ref. 5

1шт.

5b

BN98609

REPAIR KIT

1шт.

Service Parts for Ref. 5

1шт.

7

BN68154

1шт.

See Fig. 03-037

1шт.

21

86986492

HYDRAULIC VALVE

7 Bank

1шт.

See Fig. 06-016

1шт.

22

BN29234

VALVE PRESSURE RELIE,1-1/16" - 12

O-Ring Port

1шт.

23

BN29237

VALVE, PRESSURE RELI

EF Priority, 4.5 Gallons @ 150

1шт.

24

NSS

NOT SOLD SEPARAT

ORBITROL - STEERING

1шт.

See Fig. 01-006

1шт.

30

BN67864

ADAPTER

1-1/16"-12 O-ring x 7/8-14 JIC

2шт.

30a

BN98017

O-RING

SAE-12 Buna N

2шт.

Associated Part of Adapter 1-1/16"-12 O-ring X 7/8-14 Jic, P/N BN67864

1шт.

31

BN444003

FITTING

ADAPTER STR.--1 1/16-12 O RING X 3/4-16 JIC

4шт.

31a

BN98017

O-RING

SAE-12 Buna N

6шт.

Associated Part of Adapter Str. 1-1/16-12 O-ring X 3/4-16 Jic, P/N BN444003

1шт.

32

BN67865

ELBOW

90°, 1-1/16"-12 O-ring x 7/8"-14 JIC

2шт.

32a

BN98017

O-RING

SAE-12 Buna N

2шт.

Associated Part of Adapter, 90 Deg. 1-1/16"-12 O-ring X 7/8"-14 Jic, P/N BN67865

1шт.

35

BN444001

FITTING

ADAPTER STR.--1 1/16-12 O-RING X 1 1/16-12 JIC

1шт.

35a

BN98017

O-RING

SAE-12 Buna N

1шт.

Associated Part of Adapter Str. 1-1/16-12 O-ring X 1-1/16-12 Jic, P/N BN444001

1шт.

42

BN57224

FITTING

STR.--1 1/16-12 O RING X 1 1/16-12 JIC

1шт.

42a

BN98017

O-RING

SAE-12 Buna N

1шт.

Associated Part of Adapter Str. 1-1/16-12 O-ring X 1-1/16-12 Jic, P/N BN57224

1шт.

43

BN57225

FITTING

ADAPTER STR.--1 1/16-12 O RING X 9/16-18 JIC

1шт.

43a

BN98017

O-RING

SAE-12 Buna N

1шт.

Associated Part of Adapter Str. 1-1/16-12 O-ring X 9/16-18 Jic, P/N BN57225

1шт.

44

BN446032

TEE

1 1/16-12 O RING X1 1/16-12 JIC

1шт.

44a

BN98017

O-RING

SAE-12 Buna N

1шт.

Associated Part of Tee, 1-1/16-12 O-ring X 1-1/16-12 Jic, P/N BN446032

1шт.

45

BN53715

REDUCER

1-1/16"-12 Female JIC x 3/4-16 Male JIC

1шт.

46

BN53716

FITTING

REDUCER-1 1/16-12 FEMALE JIC X 9/16-18 MALE JIC

1шт.

49

BN67881

ADAPTER

90º 1" NPT x #16 JIC

1шт.

63

BN69126

TEE

1 1/16"-12 X 7/8-14 JIC

1шт.

66

BN60440

ADAPTER

STR.--9/16-18 O RING X 3/4-16 JIC

2шт.

66a

BN98019

O-RING

#6

2шт.

Associated Part of Adapter Str. 9/16-18 O-ring X 3/4-16 Jic, P/N BN60440

1шт.

72

BN22159

TEE

3/4-16 37°

1шт.

75

BN53707

FITTING

ELBOW - 90 DEG 3/4-16 JIC

2шт.

78

BN57226

ADAPTER

fitting, o-ring, 37 FL 8-6S

2шт.

78a

BN98018

O-RING

#8

2шт.

Associated Part of Adapter, 3/4-16 O-ring X 9/16-18 Jic, P/N BN57226

1шт.

85

BN69783

HOSE

1" ID X 66", 100R3

1шт.

86

BN75990

HOSE CLAMP

#16, Stainless Steel

2шт.

88

BN67650

HYD TUBE

Steel, 3/4", 2350 PSI

1шт.

89

BN67649

HYD TUBE

Steel, 3/4", 2350 PSI

1шт.

90

BN66214

TUBE ASSY.

Steel, 1/2"

1шт.

91

BN65101

TUBE

steel, 1/2"

1шт.

122

BN68851

HYDRAULIC HOSE

3/8" I.D. x 80"

2шт.

125

BN58116

HOSE,0.50" ID x 31.00"

1шт.

126

BN53818

HOSE

1/2" ID x 66", 100R2

2шт.

127

BN69595

HOSE

3/4" x 64" 100R1

1шт.

129

BN67866

HOSE

5/8" x 130", 100R1

2шт.

133

BN54170

HOSE

1/2" x 74"

1шт.

134

BN54183

HOSE,0.50" ID x 34.00", SAE 100R2

2шт.

13

BN58114

HOSE,0.50" ID x 13.00"

1шт.

136

BN54186

HOSE

1/2" x 30"

1шт.

137

BN67867

HOSE

5/8" x 130", 100R1

2шт.

138

BN67868

HOSE

5/8" X 120"

1шт.

143

BN67874

HOSE ASSY.

3/4" X 22"

1шт.

144

BN22240

CROWN NUT,1-1/16"-12 , 37 Degree

2шт.

145

BN67245

MANIFOLD

Hyd. Return

2шт.

146

BN22431

CROWN NUT,3/4"-16, 37 Degree

1шт.

147

BN311233

HOSE,0.50" ID x 84.00"

100R2

1шт.

148

BN306180

PLASTIC-RUBBER TUBE

1 1/8 ID X 36

1шт.

148a

87272088

GRP-AXLE ADJUST

1шт.

See Fig. 06-004

1шт.

Выбрано товаров: 81