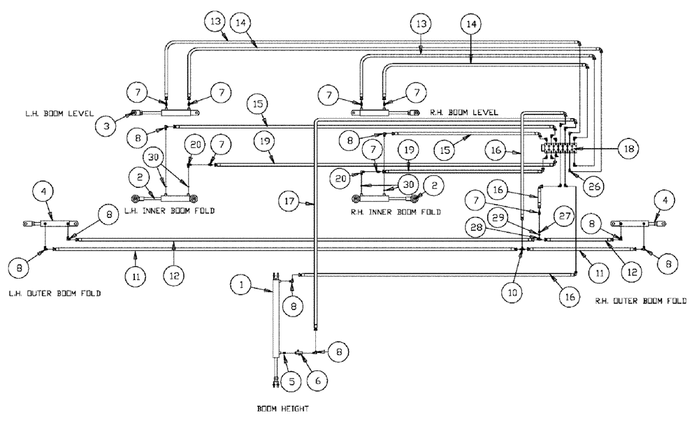
Запчасти Case IH 3185 (06-010) - 75 BOOM HYDRAULICS Hydraulic Plumbing

Схема запчастей Case IH 3185 - (06-010) - 75 BOOM HYDRAULICS Hydraulic Plumbing
8
2
8
5
8
6
29
11
18
28
30
7
3
19
16
10
13
7
4
7
14
12
7
27
20
19
16
8
4
11
8
7
12
8
15
8
20
13
16
30
1
7
8
26
14
7
17
15
FIT
1:1
100%

Артикул

Название

Примечание

Количество

1

87270932

CYLINDER,Double Acting, 31.75mm Rod, 1016mm Stroke

Hydraulic, 2.50 x 40 x 1.25

1шт.

See Fig. 07-002

1шт.

2

87270929

CYLINDER,Double Acting, 31.75mm Rod, 508mm Stroke

Hydraulic, 2.00 x 20 x 1.25

2шт.

See Fig. 07-003

1шт.

3

87270930

CYLINDER,Double Acting, 25.4mm Rod, 254mm Stroke

Hydraulic, 3.00 x 10 x 1.00

2шт.

See Fig. 07-009

1шт.

4

87270928

CYLINDER,Double Acting, 25.4mm Rod, 254mm Stroke

Hydraulic, 2.00 x 10 x 1.00

2шт.

See Fig. 07-008

1шт.

5

BN51665

FITTING

3/8" CLOSE

1шт.

6

BN53681

HYDRAULIC VALVE

VALVE

1шт.

7

BN22158

ADAPTER,3/8" NPT X 7/16"-20, 37 Degree

5шт.

8

BN51589

FITTING

6MB-4MJ

10шт.

10

BN21422

TEE

7/16-20 JIC

2шт.

11

BN53849

HOSE,0.25" ID x 305.00", SAE 100R1

2шт.

12

BN53848

HOSE,0.25" ID x 295.00", SAE 100R1

2шт.

13

BN319200

HOSE

4" X 182"

2шт.

14

BN54174

HOSE

1/4" ID x 174", 100R1

2шт.

15

BN310485

HOSE,0.25" ID x 137.00"

2шт.

16

BN54177

HOSE

1/4" ID x 96", 100R1

3шт.

17

BN54178

HOSE,6.35mm ID x 1676.4mm L, SAE 100R1

1/4" x 66"

1шт.

18

87272373

7 BANK

1шт.

See Fig. 06-014

1шт.

19

BN310484

HOSE,0.25" ID x 120.00"

2шт.

20

BN51123

ADAPTER

90º, 3/8-18 NPT

2шт.

21

BN53856

HYDRAULIC VALVE

3шт.

26

BN22160

ELBOW

90° 9/16-18 O-Ring X 7/16-20 JIC

16шт.

26a

BN98019

O-RING

#6

14шт.

Parts of 6MB-4MJ X 90, P/N BN22160

1шт.

27

BN51352

BUSHING

1/4-18 x 3/8-18 NPT

1шт.

28

BN53711

TEE

1/4 NPT x 7/16-20 JIC

1шт.

29

BN323029

ORIFICE

4JIC (.052)

1шт.

30

BN319640

RESTRICTOR VALVE

4JIC (.042)

4шт.

30a

BN302051

NIPPLE, LUBE,M8 x 1, Straight

NIPPLE 8 mm x 1 Straight

4шт.

Выбрано товаров: 33