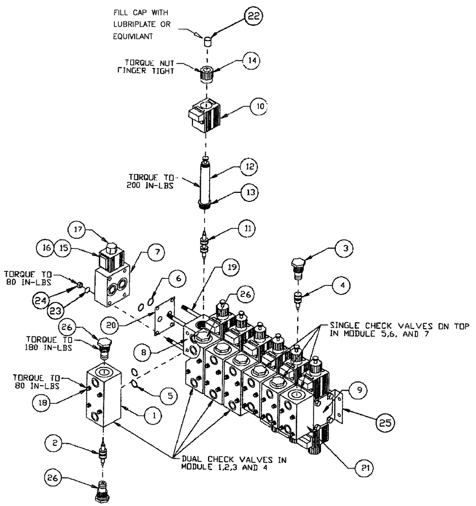
Запчасти Case IH 3185 (06-016) - 7 - BANK DIRECTIONAL VALVE Hydraulic Plumbing

Схема запчастей Case IH 3185 - (06-016) - 7 - BANK DIRECTIONAL VALVE Hydraulic Plumbing
26
9
13
4
19
20
15
5
24
16
3
17
21
2
11
6
12
5
1
18
22
7
26
1
10
25
14
23
26
8
FIT
1:1
100%

Артикул

Название

Примечание

Количество

1

BN98677

BLOCK

For 29345A (Dual)

4шт.

2

BN98679

CHECK VALVE

Piston, Dual, 29345

4шт.

3

BN300970

CHECK VALVE,3/4" - 16

100 Lb. Wtrmn, Start Serial: 6665

7шт.

3a

BN300970

CHECK VALVE,3/4" - 16

100 Lb. Wtrmn

11шт.

Indicates Old Part Number or Can Order Newer Part Number Listed above

1шт.

4

BN98680

PISTON

VALV SING29345

3шт.

5

BN98225

O-RING

Stacking Valve #29345

14шт.

6

BN98226

O-RING

Sandwich Valve #29345

14шт.

7

BN98336

HYDRAULIC VALVE

UNLOADER, Start Serial: 6665

1шт.

7a

86986522

VALVE

Inlet Section

1шт.

Indicates Old Part Number or Can Order Newer Part Number Listed above

1шт.

8

BN66709

HYDRAULIC VALVE

MIDDLE

6шт.

9

BN66710

CONTROL VALVE

END

1шт.

10

BN98222

COIL

W/Wire Lead & Pack-End

14шт.

11

BN98220

SPOOL

WTRM N VALVA #29345

7шт.

12

BN98221

TUBE

Valve

14шт.

13

BN98224

O-RING

Tube Assy #98221

14шт.

14

BN98223

NUT

Waterman Valve #29345

14шт.

15

86986520

COIL

lead wire, 12VDC

1шт.

16

86986519

SOLENOID VALVE

Waterman

1шт.

18

86986510

SCREW,Hex, 1/4" - 20 x 1 3/4"

1/4-20 X 1.75, SHCS, SS

28шт.

19

BN24141

THREADED TIE-ROD

1/4"-20 x 15-3/4"

4шт.

20

86986508

PLATE

Backing, Anodized

7шт.

21

86986521

HYDRAULIC VALVE

Check Single p.o.

3шт.

22

86986509

CAP

vinyl, valve bank

14шт.

23

BN50139

WASHER

1/4" spring lock

8шт.

24

280129

NUT,1/4"-20

8шт.

25

BN67858

MOUNTING PARTS

WATERMAN VALVE

2шт.

26

87270614

CHECK VALVE

5 psi, Start Serial: 6665

4шт.

Выбрано товаров: 29