Запчасти Case IH 3210 (03-003) - FLYWHEEL COUPLER ASSEMBLY (01) - ENGINE

Схема запчастей Case IH 3210 - (03-003) - FLYWHEEL COUPLER ASSEMBLY (01) - ENGINE
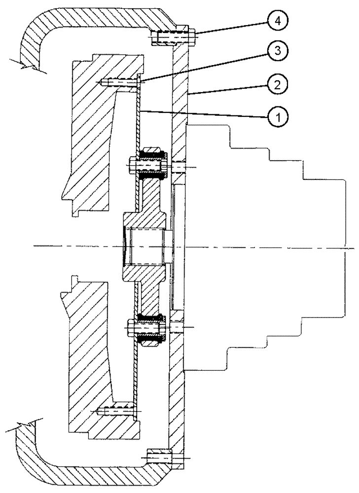
2
1
3
4
FIT
1:1
100%

Артикул

Название

Примечание

Количество

BN25680

COUPLING

Flywheel & Mount Plate Assembly

1шт.

Includes Refs. 1 and 2

1шт.

1

BN309955

FLYWHEEL

COUPLER

1шт.

2

BN309956

PLATE

pump mount

1шт.

3

86500692

BOLT,Hex, 3/8" - 16 x 3/4", Gr 8, Full Thd

8шт.

4

43140

BOLT,Hex, M10 x 1.5 x 30mm, Cl 8.8

10шт.

BN300499

WASHER,M10, 10.9

2шт.

Associated Part of M10-1.5 X 30, HH, 8.8, P/N BN300499

1шт.

9706704

BOLT,Hex, M10 x 1.5 x 41.58mm, Cl 8.8

2шт.

Associated Part of M10-1.5 X 30, HH, 8.8, P/N BN300499

1шт.

BN311566

PKG, HYDROSTAT LINKAGE

1шт.

Not Shown

1шт.

See Fig. 03-047

1шт.

Выбрано товаров: 13