Запчасти Case IH 3210 (03-019) - CYLINDER BLOCK (01) - ENGINE

Схема запчастей Case IH 3210 - (03-019) - CYLINDER BLOCK (01) - ENGINE
42
27
8
18
40
2
65
7
48
21
50
64
33
54
1
63
29
6
49
16
25
32
34
4
41a
36
41
3
51
26
53
6
22
9
68
51
37
11
28
23
42a
60
7
56
67
12
5
50
35
47
66
43
57
6
7
19
13
55
FIT
1:1
100%

Артикул

Название

Примечание

Количество

362559A2

ENGINE ASSEMBLY

ENGINE ASSY CDC (6TA-590) 200 Hp

1шт.

Less starter, alternator, fan, fan belt, air cleaner, muffler and exhaust pipe; service with 335865A1

1шт.

J933643

SKELETON ENGINE

SHORT (6 CYL)

1шт.

JR933643

REMAN-SHORT ENGINE

Short (REMAN)

1шт.

6-590-SHBC

CORE-SHORT ENGINE

Block Assembly, Short Emission 6-590

1шт.

335865A1

BASIC ENGINE

6TA-590/P3000, pump

1шт.

Less starter, alternator, fan, fan belt, air cleaner, muffler, exhaust manifold, flywheel, and housing, oil fill & dipstick, fuel injection pump, injectors & lines, front pulley, belt tensioner, turbocharger

1шт.

335865A1R

REMAN-BASIC ENGINE

Remanufactured

1шт.

335865A1C

CORE-BASIC ENGINE

Return Part Number

1шт.

6-590-LBC

CORE-ENGINE

Basic 6-590 Emission

1шт.

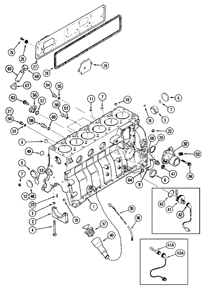
1

J937700

CYLINDER BLOCK

STRIPPED

1шт.

Includes Refs. 2 - 8 (Also order J933220 kit)

1шт.

2

J936791

BEARING CAP

7шт.

See Fig. 03-019

1шт.

Includes Ref. 3

1шт.

3

J900068

BEARING WASHER

RING, 8 MM OD

2шт.

4

J927948

BOLT,Flng, MJ12 x 1.5H6H x 119mm, Cl 12.9

14шт.

5

NSS

NOT SOLD SEPARAT

1шт.

See Fig. 03-018

1шт.

6

A77782

PLUG

Expansion, 58 mm od

5шт.

7

J900956

PLUG

18 MM OD

3шт.

8

86625124

PLUG,Cup, 1", Stainless

4шт.

9

J931973

TUBE,0.875" OD

1шт.

J933220

PACKAGE,SERVICE

HARDWARE

1шт.

Includes Refs. 11, 13 - 19, 23, 47 - 56 and 63

1шт.

11

J900955

PLUG

DIPPERSTICK, 10 MM OD

3шт.

12

172599

PLUG,Exp, 2 3/8"

1шт.

13

J926047

O-RING,0.07" Thk x 2.239" ID

57 mm id

1шт.

16

J900257

PIN,10.01mm OD x 16mm L

10 mm x 16 mm long

2шт.

18

J902343

DOWEL

ring, 16 mm od

2шт.

19

J900068

BEARING WASHER

18 MM OD

2шт.

22

86625118

DRAIN PLUG,1/2" - 14 NPT

1шт.

23

J937214

NOZZLE CAP

6шт.

25

J900267

SEAL

4шт.

26

845-8016

BOLT,Hvy Hex, M8 x 16mm, Cl 8.8

4шт.

27

J927913

COVER

1шт.

28

J907586

BAFFLE

1шт.

29

J284623

GASKET

1шт.

32

J916625

CONNECTING BLOCK

CONNECTOR, WATER INLET

1шт.

33

J906697

SEAL,Square, 5.16mm Thk x 50.17mm ID

50 MM ID

1шт.

34

9804261

BOLT,Hex, M10 x 25mm, Cl 8.8, Full Thd

3шт.

35

J938059

DIPSTICK

1шт.

36

J935617

TUBE,9.52 mm OD x 139, 63.7 mm L

1шт.

37

A77424

FILLER CAP

Filler Cap

1шт.

40

J935619

TUBE,22.42-30.43 mm OD x 190 mm L

ASSY, OIL FILLER

1шт.

196803A1

KIT

coolant heating, 120V, 750W

1шт.

Consists of Refs. 41 - 43

1шт.

309651A1

KIT

block heater, 120V, 750W

1шт.

Consists of Refs. 41A - 42A

1шт.

41

J916127

RESISTOR

ELEMENT

1шт.

41a

NSS

NOT SOLD SEPARAT

ELEMENT

1шт.

42

87105748

ELECTRIC CABLE,120V, 15A

1829 mm (72") (Engine Block Heater, 120 Volt)

1шт.

42a

87105748

ELECTRIC CABLE,120V, 15A

1829 mm (72") (Engine Block Heater, 120 Volt)

1шт.

43

J910517

O-RING

1шт.

47

444704

PLUG,Hex Soc, 1/2"-14

1шт.

48

172599

PLUG,Exp, 2 3/8"

1шт.

49

J900958

PLUG

32 MM OD

1шт.

50

J678923

PLUG,M10 x 1

ASSY

3шт.

Includes Ref. 51

1шт.

51

86625087

O-RING,1.6mm Thk x 8.1mm ID, Cl 7, 75 Duro

1шт.

52

J920706

PLUG

22 MM

1шт.

53

217-153

FITTING,5/8" Hose Barb x 1/2" Male NPTF

1шт.

54

J678921

PLUG

ASSY

1шт.

Includes Ref. 55

1шт.

55

J678912

O-RING,2.2mm Thk x 11.3mm ID

1шт.

87425544

KIT

Engine Overhaul, 6TA-590

1шт.

Composed of items below

1шт.

J930187

PISTON

ENGINE (STD)

6шт.

J734047

PISTON

6шт.

87425525

CRANKSHAFT BEARING

Kit - Upper and Lower Set, Standard

6шт.

A77896

BEARING SET

Main, Set of Two, Standard

1шт.

87434407

GASKET

Gasket, Valve Grind

1шт.

J283335

GASKET,2.32mm Thk

S, CYL HEAD (STD)

1шт.

A77979

GASKET KIT

Oil Pan

1шт.

56

J932296

PLUG

ASSY

1шт.

Includes Ref. 57

1шт.

57

J330478

O-RING,0.07" Thk x 0.676" ID

1шт.

59

J678921

PLUG

M14

1шт.

Includes Ref. 60

1шт.

60

J678912

O-RING,2.2mm Thk x 11.3mm ID

1шт.

63

86511841

BOLT,Flng, M8 x 1.25 x 16mm, Full Thd, Cl 8.8

1шт.

64

238-7018

O-RING,0.07" Thk x 0.739" ID, -18, Cl 7, 75 Duro

1шт.

65

J918614

TUBE,435.00 mm

1шт.

66

J904230

CLAMP,25.4mm

SPRING

1шт.

67

J928989

CLIP

1шт.

68

263136

MAGNETIC PLUG,Sq. Soc, 3/4"-14 NPTF

PLUG, MAGNETIC

1шт.

Выбрано товаров: 86