Запчасти Case IH 3210 (03-021) - FRONT GEAR TRAIN ACCESSORY DRIVE (01) - ENGINE

Схема запчастей Case IH 3210 - (03-021) - FRONT GEAR TRAIN ACCESSORY DRIVE (01) - ENGINE
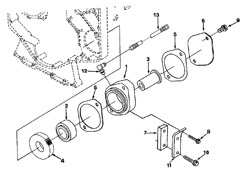
7
4
10
2
1
3
8
13
5
12
9
11
5
6
FIT
1:1
100%

Артикул

Название

Примечание

Количество

J936222

DRIVE

HYDRAULIC PUMP

1шт.

1

J936129

FLANGE

ADAPTER, HYDRAULIC PUMP

1шт.

2

J935644

BEARING, ROLLER

1шт.

3

J935645

SHAFT

ACCESSORY DRIVE

1шт.

4

84153358

DRIVING GEAR

ACCESSORY

1шт.

5

J938655

GASKET,1.27mm Thk

ACCESSORY DRIVE COVER

2шт.

6

J914868

COVER

plate, access, flat

1шт.

7

J931996

SPACER

MOUNTING

1шт.

8

9804266

BOLT,Hex, M12 x 25mm, Cl 8.8, Full Thd

1шт.

9

854-12065

BOLT,Hvy Hex, M12 x 65mm, Cl 10.9

2шт.

10

87015908

BOLT,Hvy Hex, M12 x 60mm, Cl 10.9

2шт.

11

J931825

BRACE

HYDRAULIC PUMP

1шт.

12

J939694

ELBOW

1шт.

13

J924867

HOSE

Flexible

1шт.

Выбрано товаров: 14