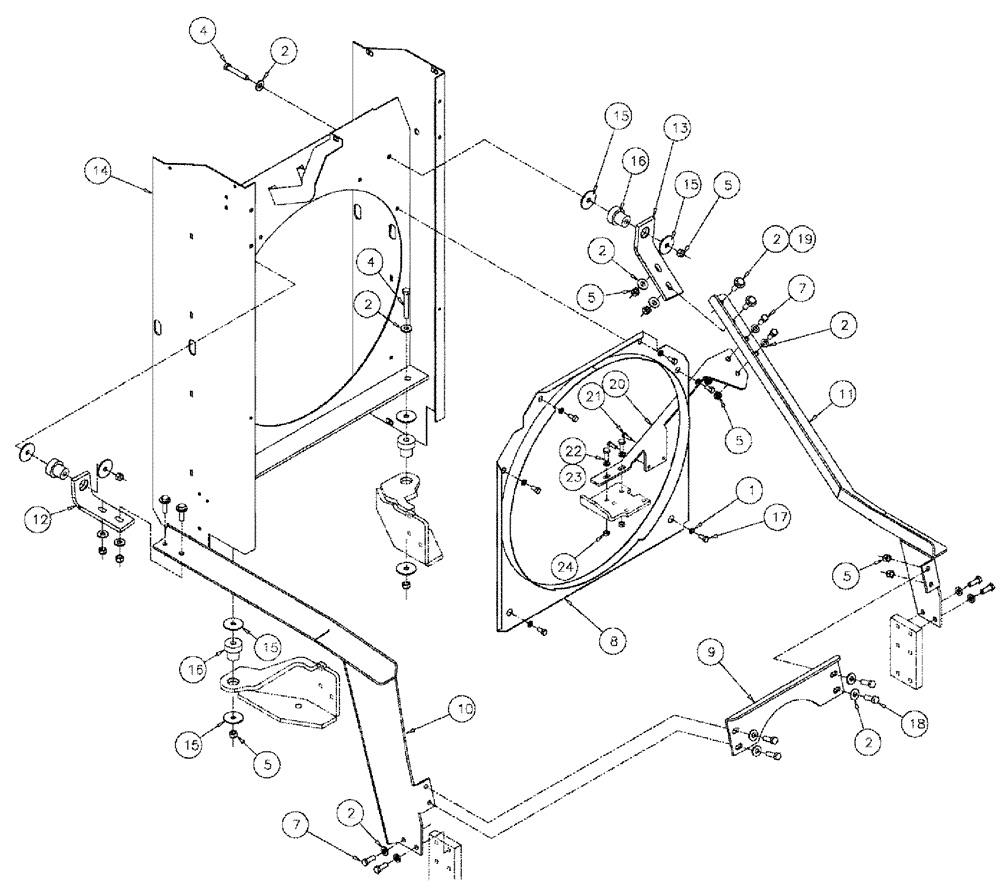
Запчасти Case IH 3210 (03-041) - SHROUD MOUNTING GROUP (01) - ENGINE

Схема запчастей Case IH 3210 - (03-041) - SHROUD MOUNTING GROUP (01) - ENGINE
2
5
2
7
13
11
15
15
22
2
24
17
2
2
9
10
2
19
20
8
5
15
4
12
18
16
15
5
5
14
5
7
23
1
16
21
FIT
1:1
100%

Артикул

Название

Примечание

Количество

1

87529239

WASHER,0.41" ID x 1.12" OD x 0.13" Thk

0.406 x 1.125 x 0.134 HTS DOR HDN

6шт.

2

BN300500

WASHER,M12, 10.9

22шт.

4

43158

BOLT,Hex, M12 x 80mm, Cl 8.8

4шт.

5

100038

NUT,M12 x 1.75, Cl 8

14шт.

7

43260

BOLT,Hex, M12 x 1.75 x 30mm, Cl 10.9, Full Thd

6шт.

8

BN316752

SHROUD

FAN, WLDMNT

1шт.

9

BN316778

BRACE

RADIATOR SUPORT

1шт.

10

BN319700

BRACKET

SUPPORT, RADIATOR, FRONT

1шт.

11

BN318124

SUPPORT

REAR RADIATOR

1шт.

12

BN319731

BRACKET, SUPPORTING

RADIATOR, FRONT

1шт.

13

BN318070

BRACE

RADIATOR, REAR

1шт.

14

344350A1

SHROUD

radiator

1шт.

15

BN316870

WASHER

2.25 x 0.52 x 7 GA, 304 SS

8шт.

16

BN29243

ISOLATOR

Rubber 1/2" Bore

4шт.

17

86500692

BOLT,Hex, 3/8" - 16 x 3/4", Gr 8, Full Thd

6шт.

18

614-12035

BOLT,Hex, M12 x 1.75 x 35mm, Cl 8.8, Full Thd

4шт.

814-12045

BOLT,Hex, M12 x 1.75 x 45mm, Cl 8.8

4шт.

20

BN318986

BRACKET

SUPPORT, RAD PKG.

1шт.

21

43234

BOLT,Hex, M8 x 1.25 x 25mm, Cl 10.9, Full Thd

2шт.

22

43140

BOLT,Hex, M10 x 1.5 x 30mm, Cl 8.8

2шт.

23

BN300499

WASHER,M10, 10.9

2шт.

24

100037

LOCK NUT,M10 x 1.5, Cl 8

2шт.

Выбрано товаров: 22