Запчасти Case IH 3210 (02-006[03]) - A/C PACKAGE Cab Exterior

Схема запчастей Case IH 3210 - (02-006[03]) - A/C PACKAGE Cab Exterior
6
14
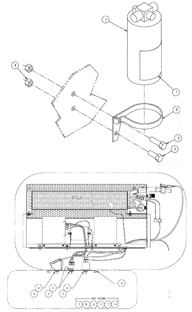
2
7
4
3
1
4
8
5
11
6
7
3
4
3
9
13
4
FIT
1:1
100%

Артикул

Название

Примечание

Количество

BN317005

DRYER GROUP, REF. ONLY

1шт.

1

BN301704

DECAL

Charge With 134A Gas

1шт.

2

88206

BOLT,Hex, 3/8" - 16 x 1", Gr 5

1шт.

3

88011

BOLT,Hex, 3/8" - 16 x 1 1/4", Gr 5

1шт.

4

88902

NUT,3/8"-16

2шт.

5

BN51142

CABLE TIE

CABLE STRAP TIE, 12-1.25 BUNDL

5шт.

6

BN67726

CLAMP

RECEIVER DRYER

1шт.

7

BN67797

RECEIVER-DRYER

1шт.

BN311014

PACKAGE

PARTS, LOUVER & MISC. REF. ONLY

1шт.

3

BN67731

NUT

SWITCH/CONTROL MTG.

3шт.

4

BN67740

KNOB

CONTROL

3шт.

5

BN311018

PLATE

CONTROL, W/DECAL

1шт.

6

BN312683

NUT

CABLE CONTROL

1шт.

7

BN67735

VENT

1-1/4 X 4-1/2 RECT

4шт.

8

BN67734

VENT

W/HOSE ADAPTER

2шт.

9

BN67732

VENT

3" DIA, FLAT

2шт.

11

BN306271

TAPE

TAR, 10"

3шт.

13

BN311023

VENT

4" DIA. W/WIRE CLIP

5шт.

14

BN312684

CLAMP

HOSE, 2.12" TO 4"

4шт.

Выбрано товаров: 19