Запчасти Case IH 3210 (06-010[01]) - STEEL LINES GROUP Hydraulic Plumbing

Схема запчастей Case IH 3210 - (06-010[01]) - STEEL LINES GROUP Hydraulic Plumbing
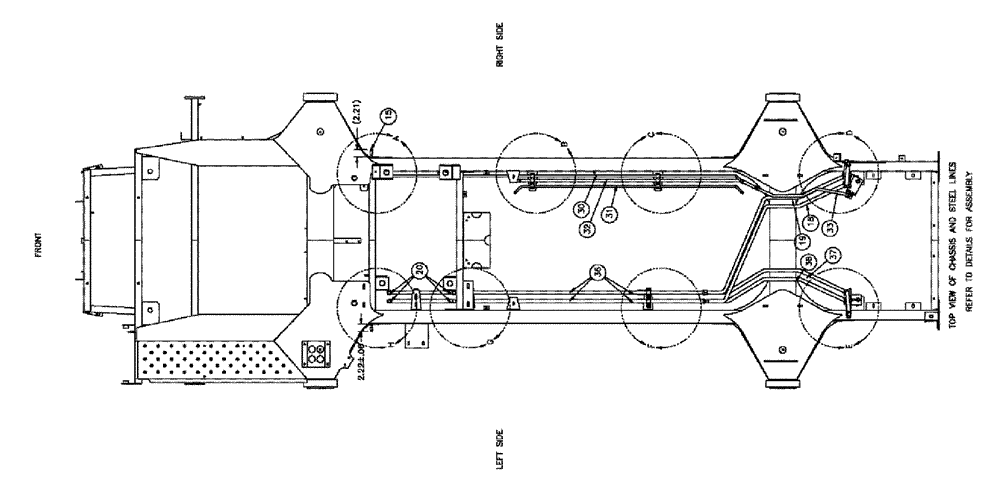
33
18
15
19
38
30
32
31
20
37
36
FIT
1:1
100%

Артикул

Название

Примечание

Количество

1

280736

NUT,5/16"-18, GC

2шт.

2

BN29769

BRACKET

Mount, 7GA HRS 3 x 7.25

1шт.

3

BN29770

MOUNTING PARTS

7 ga HRS 3.75 x 7.5

1шт.

4

BN29771

MOUNTING PARTS

7 ga HRS 3 x 10.25

1шт.

5

BN29782

CLAMP

Single (3/4" Tube)

1шт.

6

BN29783

CLAMP

Single, 1/2" Tube

5шт.

8

BN29785

PLATE

Cover, Single, 1/2" Tube

5шт.

9

BN300175

WASHER

3/8", G8

4шт.

10

88902

NUT,3/8"-16

2шт.

11

86632587

WASHER,0.28" ID x 0.62" OD x 0.07" Thk

13шт.

12

86637953

WASHER,0.34" ID x 0.69" OD x 0.09" Thk

2шт.

13

BN307080

CLAMP

PAIR, 1" TUBE

14шт.

14

BN307081

PLATE

TOP, 1" TUBE

15шт.

15

BN323702

TUBE

STEEL, HYD LINE

1шт.

16

BN313247

RAIL

C, STD DUTY

7шт.

17

BN313262

NUT

C-RAIL (1/4"-20)

28шт.

18

BN316490

HOSE ASSY.

STEEL HYD TUBE, L.H.

1шт.

19

BN316491

TUBE

STEEL HYD TUBE, R.H.

1шт.

20

343923A1

HYD TUBE

hydraulic, steel

4шт.

22

BN316101

SPACER

C-RAIL, HYD. TUBE

7шт.

23

86505867

BOLT,Hex, 1/4" - 20 x 1", Gr 5

3шт.

24

280112

BOLT,Hex, 1/4" - 20 x 1-1/2", Gr 5

30шт.

25

88011

BOLT,Hex, 3/8" - 16 x 1 1/4", Gr 5

2шт.

27

88346

BOLT,Hex, 5/16" - 18 x 2 1/2", Gr 5

2шт.

28

87404

BOLT,Hex, 1/4" - 20 x 2", Gr 5

10шт.

29

280129

NUT,1/4"-20

17шт.

30

343920A1

HYD TUBE

hydraulic, steel, JIC ends

1шт.

31

343921A1

HYD TUBE

hydraulic, steel, with JIC ends

1шт.

32

343922A1

HYD TUBE

hydraulic, steel, with JIC ends

1шт.

33

BN67649

HYD TUBE

Steel, 3/4", 2350 PSI

1шт.

34

BN67651

CLAMP

Dual

2шт.

35

BN63861

COVER

Plate, Dual 3/4" Clamp

2шт.

36

BN53730

O-RING,0.07" Thk x 0.926" ID, -21, Cl 6, 90 Duro

ARP Standard #021

4шт.

37

BN316499

TUBE

STEEL HYD TUBE, 1"

1шт.

38

BN316500

HOSE ASSY.

STEEL HYD TUBE, 1"

1шт.

39

87342611

BOLT

1/4-20 X 2-1/4 5

2шт.

Выбрано товаров: 36