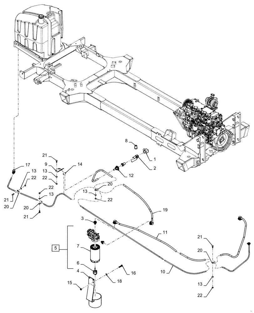
Запчасти Case IH 3330 (10.214.01) - FUEL GROUP, FITTINGS & LINES (10) - ENGINE

Схема запчастей Case IH 3330 - (10.214.01) - FUEL GROUP, FITTINGS & LINES (10) - ENGINE
14
13
6
20
3
4
22
21
7
16
22
10
1
13
21
13
21
22
19
18
20
8
5
13
22
21
12
2
20
20
17
15
13
11
22
9
FIT
1:1
100%

Артикул

Название

Примечание

Количество

1

217-1226

ELBOW,90 Degree, 1/2"-14 Male

1шт.

2

87265539

VALVE

valve, 1/2" npt full

1шт.

3

8602542

ADAPTER,M14 x 1.5 x 16mm ID x 7.90mm ID

246 NG12/M14 X 1.5

2шт.

4

87617087

GUARD

Fuel Filter

1шт.

5

84348875

FILTER ASSY

Assembly, Inc 6-7

1шт.

6

87519307

SENSOR

Water

1шт.

7

84348882

FUEL FILTER,97mm OD x 184mm L, M16 x 1.5, 30 Microns

Element

1шт.

8

217-406

PLUG,Hex Hd, 1/4" - 18 NPT

1шт.

9

84203087

MOUNT

Fuel Line

1шт.

10

87272536

FUEL HOSE

Engine To Tank

1шт.

11

87272534

FUEL HOSE

Filter To Engine

1шт.

87445405

O-RING

Included In Ref 11, Not Shown

2шт.

12

87270102

FITTING,1/2" NPTF to Quick Connect

Brass, NG12 X 1/2 NPTF

1шт.

13

87529315

WASHER,9mm ID x 17mm OD x 2mm Thk

9 X 17 X 2MM HTS DOR HDN

6шт.

14

22-824

CABLE TIE,3/16" x 7 1/4"

1шт.

15

100037

LOCK NUT,M10 x 1.5, Cl 8

3шт.

16

120112

BOLT,Hex, M10 x 1.5 x 40mm, Cl 8.8, Full Thd

3шт.

17

87270105

FITTING

Brass, NG8 X 3/8 NPTF

1шт.

18

896-11010

WASHER,11mm ID x 21mm OD x 2.5mm Thk

3шт.

19

87272535

FUEL HOSE

Fuel Tank To Filter, Includes Nylon Fittings

1шт.

20

515-22190

CLAMP,3/4", Insul, 5/16" Bolt

4шт.

21

86980379

BOLT,Hex, M8 x 1.25 x 20mm, Cl 8.8

5шт.

22

86980514

LOCK NUT,Hex, M8, Cl 8, DOR

6шт.

Выбрано товаров: 23