Запчасти Case IH 3330 (90.160.10) - PACKAGE, COMPONENTS, RH CONSOLE - BEGIN YEAR 01/2009 (90) - PLATFORM, CAB, BODYWORK AND DECALS

Схема запчастей Case IH 3330 - (90.160.10) - PACKAGE, COMPONENTS, RH CONSOLE - BEGIN YEAR 01/2009 (90) - PLATFORM, CAB, BODYWORK AND DECALS
22
16
12
15
10
21
14
24
19
8
26
7
6
18
25
20
90.160.12
17
7
16
1
home
9
13
5
2
3
23
11
4
FIT
1:1
100%

Артикул

Название

Примечание

Количество

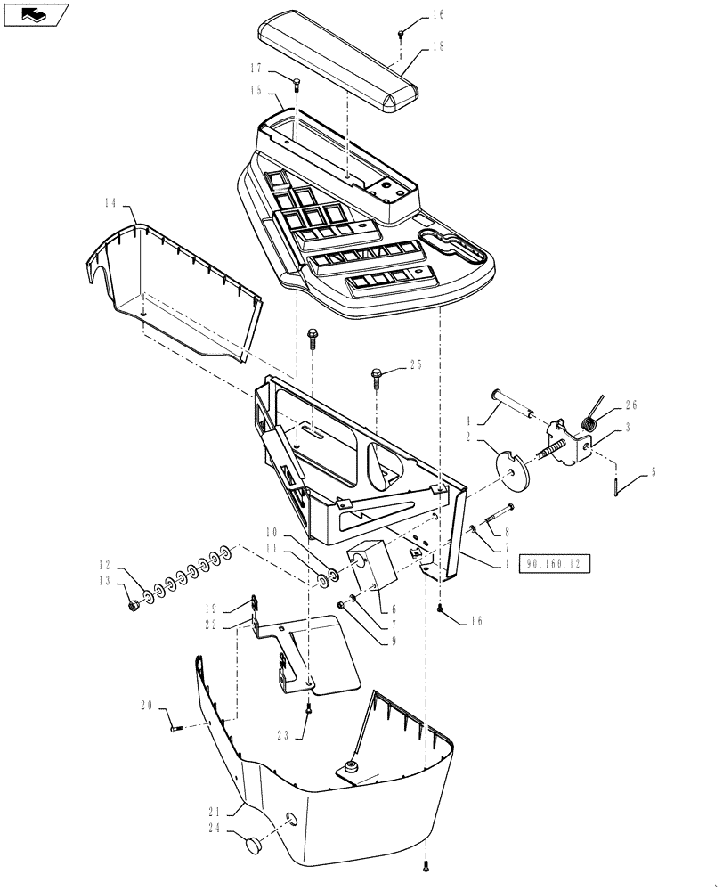
1

NSS

NOT SOLD SEPARAT

RH Cover assembly

1шт.

Refer to 90.160.13

1шт.

2

251090A1

THRUST WASHER

wear

1шт.

3

87578140

SUPPORT

Prop Lever Control

1шт.

4

27-8343

CLEVIS PIN,12.7mm OD x 87.33mm L

1шт.

5

80755

COTTER PIN,1/8" OD x 1" L

1шт.

6

87492829

MOUNT

SENSOR

1шт.

7

87529314

WASHER,6.6mm ID x 12.5mm OD x 2mm Thk

6.6 x 12.5 x 2 mm, HDN, DOR

2шт.

8

338413

BOLT,Hex, M6 x 60mm, Cl 8.8

1шт.

9

353308

NUT,M6 x 1.0, Cl 8

1шт.

10

159688R91

THRUST BEARING

1шт.

11

87529248

WASHER,0.47" ID x 1" OD x 0.1" Thk

0.469 x 1 x 0.105 HTS DOR HDN

1шт.

12

1994980C1

BELLEVILLE WASHER

Belleville, M10

8шт.

13

BN305066

NUT,7/16" - 14, Gr 8

7/16 14, FLN,G8

1шт.

14

130412A1

COVER

skirt, console, rear

1шт.

15

NS

NOT SERVICED

Cover Assembly, RH Console, SPX

1шт.

See Fig. 90.160.13

1шт.

16

87343621

SCREW,Hex Wshr Hd, M4 x 10mm, Cl 4.9, Full Thd

4шт.

17

120100

BOLT,M6 x 20mm, Cl 8.8

1шт.

18

128970A3

ARMREST

assembly, console

1шт.

19

87016567

SPRING NUT,Tinn, U, #10

4шт.

20

86900238

SELF-TAP SCREW,Phillips Drive, Pan HD, #10 - 16 x 3/4"

4шт.

21

87270585

COVER

skirt, lower console

1шт.

22

87270759

PLATE

Blockoff, RH Console

1шт.

23

87343600

SCREW,Phil Pan Hd, M5 x 16mm, Cl 4.8, Full Thd

2шт.

24

86625129

PLUG,Dome, 1" Hole, Nylon

1шт.

25

86981482

BOLT,Hvy Hex Flg, M8 x 30mm, Cl 8.8, Full Thd

M8X30 CL8.8 DOR

4шт.

26

128593A1

SPRING

torsion, propulsion handle

1шт.

Выбрано товаров: 28