Качественные детали и логистика
Оригинальные и аналоговые запчасти с доставкой по России, Казахстану и Беларуси
©2022 PartSell ООО "Система" ИНН 2463123282 ОГРН 1212400004838
Центральный офис: г. Красноярск, Академика Киренского, д.87, пом.4
Телефон: 8 (800) 777-65-74 Email: zakaz@partsell.ru
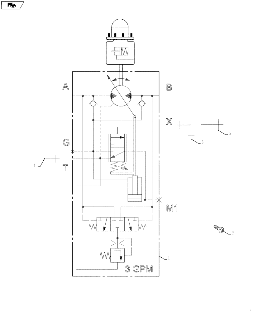
(29.100.05[01]) - WHEEL MOTOR GROUP BEFORE SN YCT032640
№
Артикул
Название
Примечание
Количество
1
87269799
MOTOR
Wheel, 55cc
4шт.
See Fig 29.100.05(02) For Service Parts Breakdown
1шт.
87269799R
REMAN-HYD MOTOR
3330
87269799C
CORE-MOTOR HYDRAULIC
Return Number
2
868-16040
12 PT SCREW,M16 x 40mm, Cl 12.9
M16 2 X 40 12PT 12.9
8шт.
Not Shown
3
87584271
ADAPTER
REWORKED 90, 6 MOR
4
BN302650
FITTING
13/16 -16 ORFS x 3/4 -16 ORB
5
87595456
PLUG
ORB, SOC HD 5/16-24
Выбрано товаров: 0