Запчасти Case IH 3330 (29.100.05[02]) - WHEEL MOTOR BREAKDOWN, BEFORE SN YCT032640 (29) - HYDROSTATIC DRIVE

Схема запчастей Case IH 3330 - (29.100.05[02]) - WHEEL MOTOR BREAKDOWN, BEFORE SN YCT032640 (29) - HYDROSTATIC DRIVE
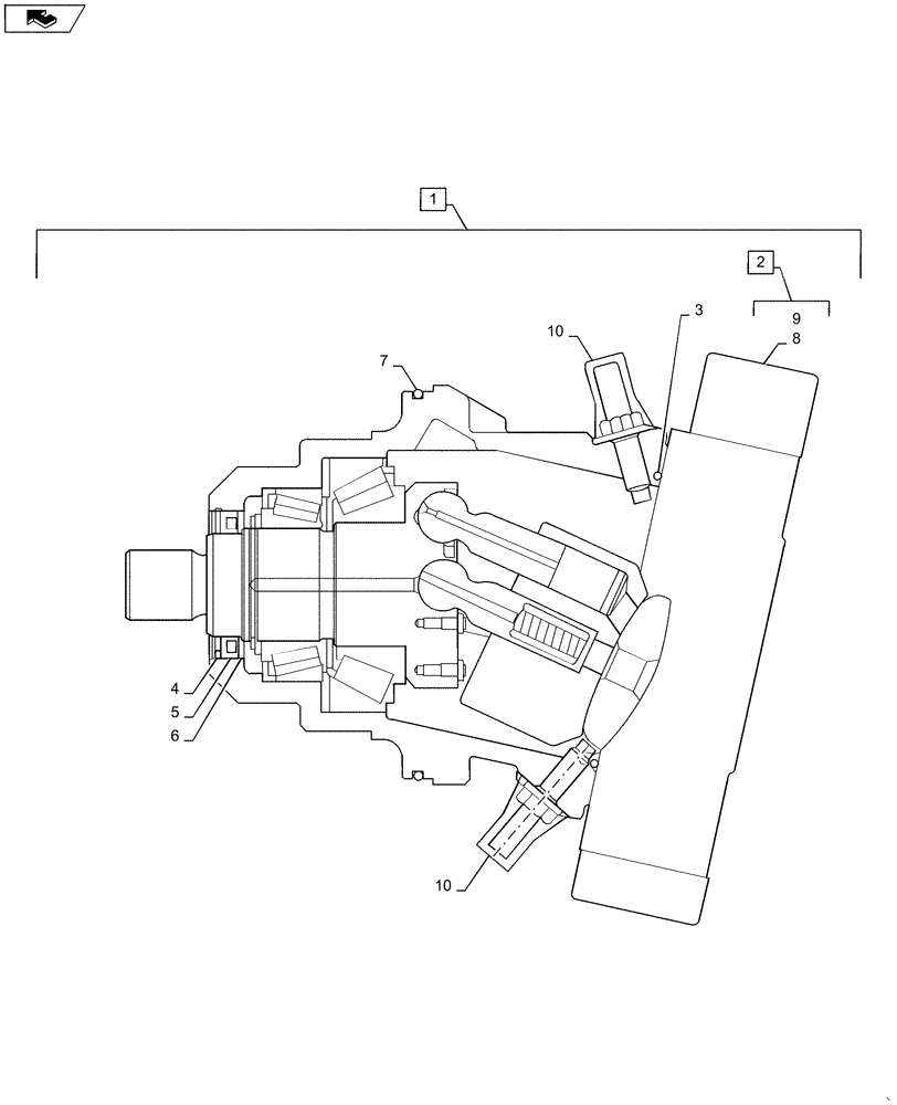
4
5
8
3
9
6
2
10
10
7
home
1
FIT
1:1
100%

Артикул

Название

Примечание

Количество

1

87269799

MOTOR

Wheel, 55cc

1шт.

1

87269799R

REMAN-HYD MOTOR

3330

1шт.

1

87269799C

CORE-MOTOR HYDRAULIC

Return Number

1шт.

2

87603547

CONTROL

Wheel Motor

1шт.

3

87603553

O-RING

Wheel Motor Control Seal

1шт.

4

87603550

RING

Retaining

1шт.

5

87603551

SEAL

Shaft

1шт.

6

87603552

PLATE

Back UP

1шт.

7

87603554

O-RING,4mm Thk x 150mm ID, 75 Duro

Wheel Motor to Planetary Seal

1шт.

8

87603555

GEAR SET

Control, Included in Ref 2, Not Shown

1шт.

9

87603556

CARTRIDGE

Flush And Boost Pressure, 20 Micron, Included in Ref 2, Not Shown

1шт.

10

47547962

NUT

Procured from supplier

2шт.

Выбрано товаров: 0