Запчасти Case IH 4420 (06-002) - HYDRAULIC GROUP, STANDARD AXLE Hydraulic Plumbing

Схема запчастей Case IH 4420 - (06-002) - HYDRAULIC GROUP, STANDARD AXLE Hydraulic Plumbing
11
14
14
3
2
home
1
6
12
4
1
1b
4
13
1
10
12
13
4
1
4
4
4
4
4
14
7
4
7
8
9
1a
14
8
5
FIT
1:1
100%

Артикул

Название

Примечание

Количество

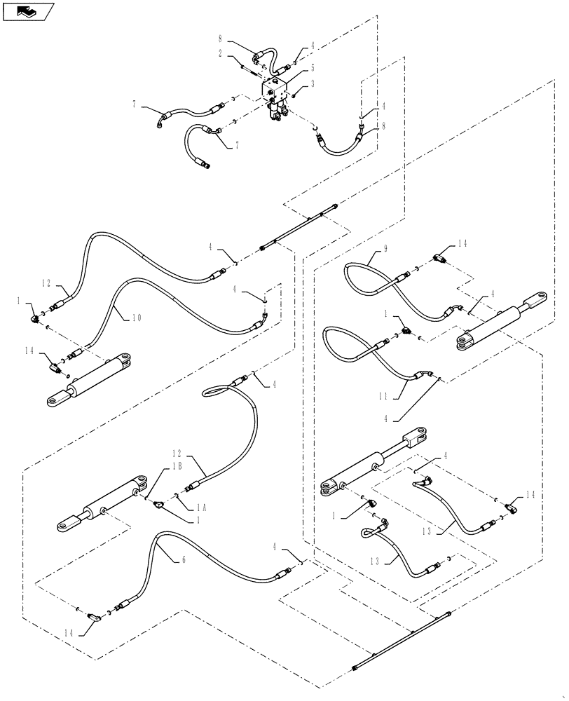
1

BN302553

ELBOW

11/16-16 ORFS x 9/16-18 ORB

4шт.

1a

237-6006

O-RING,0.078" Thk x 0.468" ID, -906, Cl 6, 90 Duro

2шт.

1b

9993141

O-RING,0.07" Thk x 0.364" ID, -12, Cl 6, 90 Duro

11/16", OFRS

2шт.

2

86980411

BOLT,Hex, M10 x 1.5 x 110mm, Cl 8.8

2шт.

3

86980515

NUT,Hex, M10 x 1.5, Cl 8.8, DOR

2шт.

4

BN305412

O-RING

FOR -6 FFOR

10шт.

5

87393150

CONTROL VALVE

2 BANK W/FTGS, Start Year: 01-JAN-09

1шт.

See Fig. 06-039-01

1шт.

5

87270167

HYDRAULIC VALVE

2 Bank With Fittings, Years: -01-JAN-09

1шт.

See Fig. 06-039-02

1шт.

6

BN317622

HOSE ASSY.,9.53mm ID x 1498.6mm L, SAE 100R17

-6X59"

1шт.

7

BN307824

HOSE ASSY.

6 X 495.3MM

2шт.

8

BN307814

HOSE

6MOR-MB X 90 LL

2шт.

9

BN322523

HYDRAULIC HOSE

- 6 x 55"

1шт.

10

BN320874

HOSE ASSY.,9.53mm ID x 1625.6mm L, SAE 100R17

-6 X 64"

1шт.

11

BN313337

HOSE

-6 X 50"

1шт.

12

BN307873

HOSE

2шт.

13

BN322525

HOSE ASSY.

-6 X 48"

2шт.

14

BN302419

ELBOW

6 MOR - 6 MB X 90 LL

4шт.

Выбрано товаров: 19