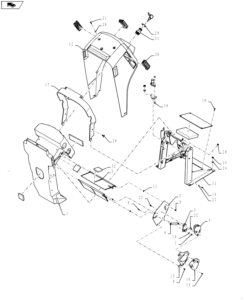
Запчасти Case IH 4420 (01-009[01]) - FRONT CONSOLE, HVAC ASSEMBLY Cab Interior

Схема запчастей Case IH 4420 - (01-009[01]) - FRONT CONSOLE, HVAC ASSEMBLY Cab Interior
31
11
28
32
26
17
15
21
22
14
2
25
10
7
30
4
1
16
5
6
9
13
27
3
9
14
23
20
24
18
29
home
19
8
12
FIT
1:1
100%

Артикул

Название

Примечание

Количество

1

87433098

AIR DUCT

PLENUM, A/C-HEAT

1шт.

2

257059A2

PLATE

SUPPORT

1шт.

3

281138A2

GUIDE

PLATE

1шт.

4

281139A1

GUIDE

PLATE

1шт.

5

246476A1

VENT

louver, air plenum

2шт.

6

275601A1

LINK

assembly

1шт.

7

86625075

NUT,M4 x 0.7, Cl 8

1шт.

8

840-1416

SCREW,Pan, M4 x 16mm, Cl 4.8

1шт.

9

86511823

SCREW,Phillips Drive, Pan HD, M4 x 8mm, Cl 4.8

3шт.

10

89824840

WASHER,4.3mm ID x 9mm OD x 0.8mm Thk

1шт.

11

435474A1

NYLON BEARING,0.251" ID x 0.437" OD x 0.14"

3шт.

12

360446A1

CONSOLE

FRONT

1шт.

13

281425A5

SUPPORT

steering

1шт.

14

628-6012

BOLT,Hex, M6 x 12mm, Cl 10.9, Full Thd

2шт.

15

277438A1

BRACKET

BRACKET

1шт.

16

275602A1

ACTUATOR

motor

1шт.

16a

87377103

ELECTRIC MOTOR

KIT, ACTUATOR

1шт.

Service Parts For Ref. 16

1шт.

17

280566A1

SUPPORT

front console

1шт.

18

190003843141

SELF-TAP SCREW,Cross Pan Hd, M4.2 x 16

1шт.

19

86639037

BOLT,Hex, M6 x 16mm, Cl 10.9, Full Thd

4шт.

20

195-81023

WASHER,5.94mm ID x 14.28mm OD x 1.25mm Thk

3шт.

21

436276A1

SCREW,BHD, M6 x 1 x 30mm, Class 10.9

BUTTON HEAD

3шт.

22

281140A1

WASHER

SHOULDER

1шт.

23

840-1410

SCREW,Pan, M4 x 10mm, Cl 4.8

1шт.

24

140017

WASHER,M10 x 20mm OD x 2mm Thk

4шт.

25

829-1310

NUT,M10, Cl 10

4шт.

26

301098A1

CLIP

SNAP-IN

2шт.

27

86588450

WASHER,6.6mm ID x 12mm OD x 1.6mm Thk

2шт.

28

353849A1

DECAL

key switch

1шт.

29

A67295

PLUG

CONTROL CABLE

1шт.

30

363882A1

VENT

assembly, without holes, no pop wheat

10шт.

31

363914A1

IGNITION SWITCH

With Padded Keys

1шт.

86502201

IGNITION KEY

Set of 2, Included With Ref. 31

1шт.

32

446687A1

FOAM

Louver Dampner

2шт.

Выбрано товаров: 35