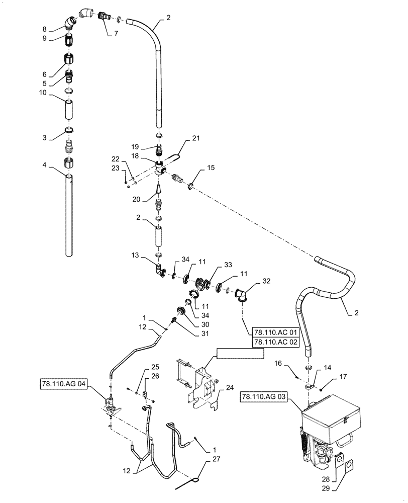
Запчасти Case IH PATRIOT 2250 (78.110.AG[01]) - CHEMICAL EDUCTOR ASSY, BSN YGT042519 (78) - SPRAYING

Схема запчастей Case IH PATRIOT 2250 - (78.110.AG[01]) - CHEMICAL EDUCTOR ASSY, BSN YGT042519 (78) - SPRAYING
78.110.ac 02
34
8
3
23
31
20
6
24
11
7
19
2
17
2
22
5
28
21
11
12
34
10
14
33
13
27
26
1
12
30
16
15
2
11
29
18
32
4
25
9
1
78.110.ag 04
78.110.ag 02
78.110.ag 03
78.110.ac 01
FIT
1:1
100%

Артикул

Название

Примечание

Количество

1

87487826

CLAMP,0.44" - 0.78"

Type M, # 06, SST

6шт.

2

BN309785

HOSE

Bulk, 1-1/2" Cut to Length

1шт.

3

BN310449

CLAMP,50mm - 65mm

# 32, SST

2шт.

4

47761411

PIPE

PVC

1шт.

5

BN73781

FITTING,2" Male NPT x 2" Hose Barb, Poly

2шт.

6

84283600

COUPLING,2" Poly Pipe Coupling

2" FPT, Poly

2шт.

7

BN305163

FITTING,2" - 11-1/2 Male NPT x 1-1/2" Hose Barb, Poly

1шт.

8

BN73793

ELBOW,45 Degree Elbow, 2" Female NPT x 2" Female NPT, Poly

2шт.

9

84283599

NIPPLE,2" x 4" Poly Nipple

2" x 4", Poly

1шт.

10

BN29564

HOSE

Bulk, 2" Cut to Length

1шт.

11

BN303199

CLAMP,2" Flange

3шт.

12

BN54239

HOSE,12.7mm ID x 3048mm L

Bulk, 1/2", Cut to Length

1шт.

13

BN304321

FITTING,2" Flange x 1-1/2" 90 Degree Hose Barb Elbow

Fitting 2" Flange x 1.5" Barb

1шт.

14

515-23508

CLAMP,2", Insul, 3/8" Bolt

1" x 3/4" Reducer

1шт.

15

BN310448

HOSE CLAMP

# 28, SST

6шт.

16

86980379

BOLT,Hex, M8 x 1.25 x 20mm, Cl 8.8

1-1/2" x 49" Kaniflex

2шт.

17

86980514

LOCK NUT,Hex, M8, Cl 8, DOR

1" Poly

2шт.

18

BN73714

TEE,1-1/2" Female NPT x 1-1/2" Female NPT x 1-1/2" Female NPT, Poly

1шт.

19

BN73725

FITTING,1-1/2" Male NPT x 1-1/2" Hose Barb, Poly

3шт.

20

21384

VENTURI

1-1/2"

1шт.

21

BN303201

U-BOLT

1/4"

2шт.

22

BN50138

WASHER,1/4", SS

4шт.

23

BN55359

LOCK NUT,1/4"-20, SS

4шт.

24

87271664

DECAL

Chemical Indicator, Rinse

1шт.

25

87529316

WASHER,9mm ID x 21mm OD x 2.5mm Thk

1шт.

26

R54363

CLAMP

Double

2шт.

27

BN570007

STRAP

Band

3шт.

28

BN320997

BRACKET

Plate

1шт.

29

343187A1

DECAL

Chemical Indicator

1шт.

30

344407A1

PLUG,2" Flange Plug with 3/4" FPT

2"

1шт.

31

BN73568

FITTING

3/4" MPT x 1/2" Hose Barb, Poly

1шт.

32

BN320903

COUPLING,2" x 2" 90 Degree Short Flange

2" Flange, 90° Short

1шт.

33

BN303196

TEE,2" Flange x 2" Flange x 2" Flange, Poly

1шт.

34

BN303204

GASKET,1-1/2" EPDM Gasket

3шт.

Выбрано товаров: 34