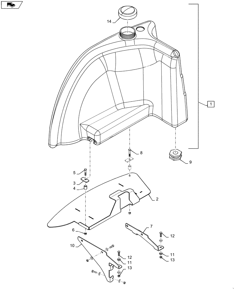
Запчасти Case IH PATRIOT 2250 (78.110.AH[01]) - RINSE TANK MOUNTING (78) - SPRAYING

Схема запчастей Case IH PATRIOT 2250 - (78.110.AH[01]) - RINSE TANK MOUNTING (78) - SPRAYING
12
10
6
2
14
5
12
3
9
13
1
4
11
8
7
13
11
FIT
1:1
100%

Артикул

Название

Примечание

Количество

1

84288347

TANK

Rinse, RH, 74 Gal. (280 L), Incl 14

1шт.

2

47497937

MOUNT

Rinse Tank

1шт.

3

BN67652

PLATE

Tank, Hold Down

2шт.

4

BN67653

BUSHING

Tank

2шт.

5

86980426

BOLT,Hex, M12 x 1.75 x 60mm, Cl 8.8

1шт.

6

86980516

NUT,Prev Torque, Hex, M12, 1.75 Pitch, Cl 8, DOR

2шт.

7

47497950

MOUNT

Rear, Rinse Tank

1шт.

8

86980427

BOLT,Hex, M12 x 1.75 x 70mm, Cl 8.8

1шт.

9

BN73733

FITTING

Bulkhead, 1-1/2" NPT, Poly

2шт.

10

47497945

MOUNT

Front, Rinse Tank

1шт.

11

87529310

WASHER,13.5mm ID x 28mm OD x 4mm Thk

HDN, DOR

17шт.

12

86980423

BOLT,Hex, M12 x 1.75 x 40mm, Cl 8.8, Full Thd

9шт.

13

87344214

NUT,Hex, M12 - 1.75, Cl 8.8, DOR

8шт.

14

BN314276

COVER

6" Rinse Tank Cap, W/ Breather

1шт.

Выбрано товаров: 14