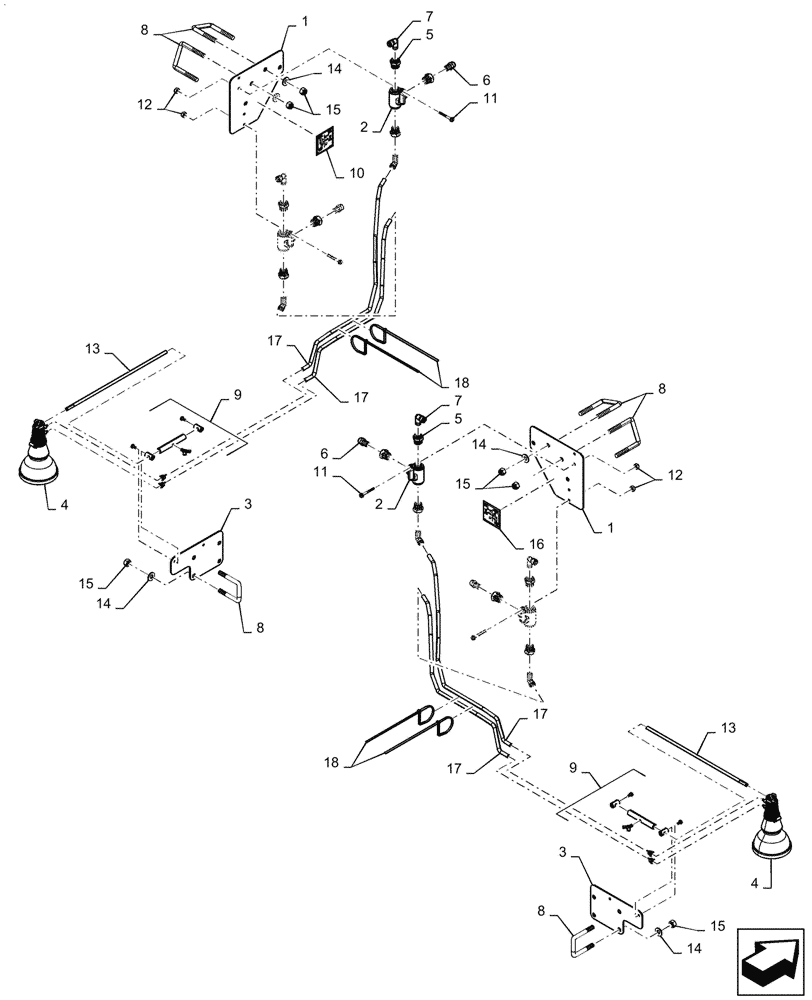
Запчасти Case IH PATRIOT 2250 (78.120.AG[02]) - 60 FOAM DROP OPTION (78) - SPRAYING

Схема запчастей Case IH PATRIOT 2250 - (78.120.AG[02]) - 60 FOAM DROP OPTION (78) - SPRAYING
17
1
8
5
4
14
10
16
15
18
6
15
15
7
11
14
6
9
3
8
12
17
9
14
17
11
13
2
7
14
13
18
15
8
4
8
12
5
17
3
2
1
FIT
1:1
100%

Артикул

Название

Примечание

Количество

1

47668634

MOUNT

Valve, Foam Drop

2шт.

2

47663008

VALVE,1/2" Side Load Micro Valve

Ball, 3 Way, 1/2" FPT

4шт.

3

47668660

MOUNT

Foam Nozzle

2шт.

4

47575902

NOZZLE

Foam Marker

2шт.

5

BN316536

BUSHING

1/2" MPT x 1/4" FPT, Poly, Reducer

12шт.

6

BN2399401

ADAPTER

Straight, 1/4" OD Tube x 1/4" MPT

4шт.

7

BN2399404

90 ELBOW

1/4" OD Tube x 1/4" MPT

8шт.

8

47650282

U-BOLT

M10, 82mm L x 62mm W

8шт.

9

47575903

MOUNT

Kit, Hardware, Foam Marker

2шт.

10

47699180

DECAL

Valve, LH, Dual Foam

1шт.

11

BN316803

SCREW,#10 - 24 x 1 1/2", SST

8шт.

12

BN310266

BHD LOCK NUT,#10-24, Nylon, Stainless Steel

8шт.

13

47576816

ROD

Foam Marker

1шт.

14

87529312

WASHER,11mm ID x 24mm OD x 3mm Thk

16шт.

15

86980515

NUT,Hex, M10 x 1.5, Cl 8.8, DOR

16шт.

16

47699183

DECAL

Valve, RH, Dual Foam

1шт.

17

BN2292089

AIR INTAKE TUBE

1/4", Bulk, 1000' Roll

1шт.

18

BN570007

STRAP

Band

4шт.

Выбрано товаров: 18