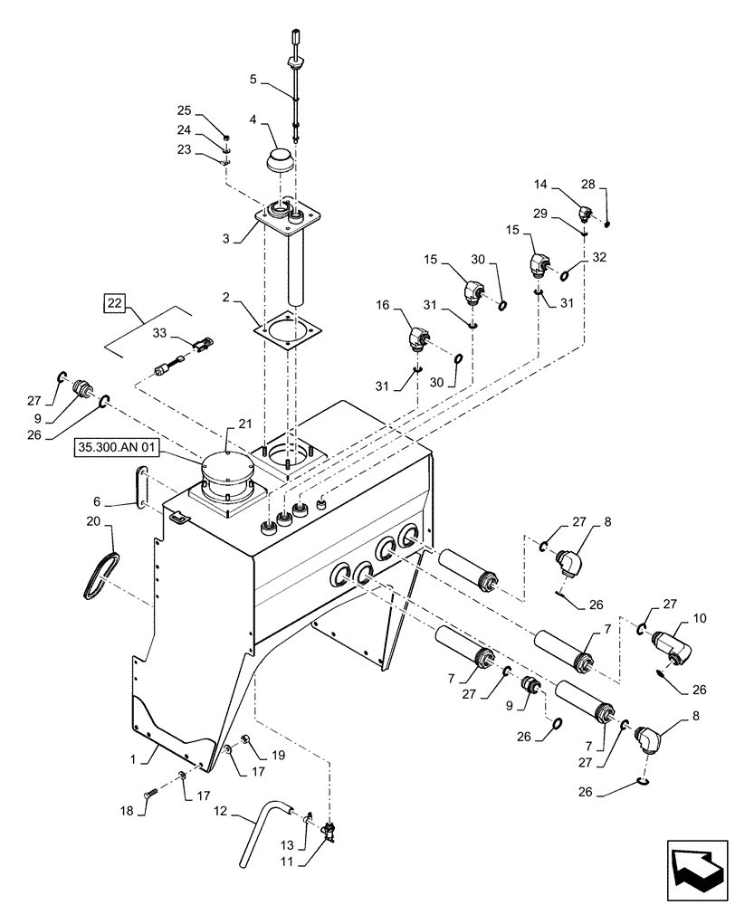
Запчасти Case IH PATRIOT 3240 (35.300.AQ[01]) - HYDRAULIC FLUID RESERVOIR (35) - HYDRAULIC SYSTEMS

Схема запчастей Case IH PATRIOT 3240 - (35.300.AQ[01]) - HYDRAULIC FLUID RESERVOIR (35) - HYDRAULIC SYSTEMS
26
10
11
20
6
2
16
24
21
22
8
27
7
27
26
29
12
31
27
28
5
27
32
26
23
1
31
33
17
18
8
3
25
31
9
17
15
26
7
13
9
19
30
7
4
15
14
30
27
35.300.an 01
26
FIT
1:1
100%

Артикул

Название

Примечание

Количество

1

84552607

RESERVOIR, HYDRAULIC

Tank

1шт.

2

87272095

GASKET,3.17mm Thk

Cover Plate

1шт.

3

87272099

PLATE

Temperature/Level

1шт.

4

BN304339

VALVE

Pressure Valve, Breather

1шт.

5

BN323888

INDICATOR

Multi-Level And Temperature Oil Sender

1шт.

6

BN322594

GAUGE

Sight With Temperature

1шт.

7

BN303528

STRAINER ASSY.

32MB X 20 FB, 100 Mesh

4шт.

8

BN302577

ELBOW

1-11/16-12 ORFS x 1-5/8-12 ORB

2шт.

9

BN302660

FITTING

1-11/16-12 ORFS x 1-5/8-12 ORB

2шт.

10

BN302425

ELBOW

1-11/16-12 ORFS x 1-5/8-12 ORB, Long

1шт.

11

87105048

DRAINCOCK/TAP SUPPLY

Valve, Hydraulic

1шт.

12

129096A1

HOSE

Reservoir Drain

1шт.

13

214-1412

HOSE CLAMP,#12, 0.69" - 1.25", Type F Worm

Reservoir Drain

1шт.

14

BN302558

ELBOW

13/16-16 ORFS x 3/4-16 ORB

1шт.

15

BN302570

ELBOW

1-3/16-12 ORFS x 1-5/16-12 ORB

2шт.

16

BN302574

ELBOW

1-7/16-12 ORFS x 1-5/16-12 ORB

1шт.

17

87529310

WASHER,13.5mm ID x 28mm OD x 4mm Thk

13.5 x 28 x 4 mm, HDN, DOR

20шт.

18

86980423

BOLT,Hex, M12 x 1.75 x 40mm, Cl 8.8, Full Thd

10шт.

19

86980516

NUT,Prev Torque, Hex, M12, 1.75 Pitch, Cl 8, DOR

10шт.

20

87757013

SEAL

Trim

2шт.

21

87267807

HYDRAULIC OIL FILTER

Oil, In Tank

1шт.

See 35.300.AN 01 For Service Parts

1шт.

22

87267808

PRESSURE SWITCH

Oil Tank, Incl 33

1шт.

23

515-2363

CLAMP,M6.3, Insul, 3/8" Bolt

2шт.

24

87529312

WASHER,11mm ID x 24mm OD x 3mm Thk

8шт.

25

86980515

NUT,Hex, M10 x 1.5, Cl 8.8, DOR

8шт.

26

570186

O-RING,0.118" Thk x 1.475" ID, -920, Cl 6, 90 Duro

5шт.

27

9824051

O-RING,0.07" Thk x 1.176" ID, -25, Cl 6, 90 Duro

5шт.

28

9992298

O-RING,0.07" Thk x 0.489" ID, -14, Cl 6, 90 Duro

1шт.

29

128825

O-RING,0.087" Thk x 0.644" ID, -908, Cl 6, 90 Duro

1шт.

30

9991976

O-RING,0.07" Thk x 0.739" ID, -18, Cl 6, 90 Duro

2шт.

31

167268

O-RING,0.116" Thk x 1.171" ID, -916, Cl 6, 90 Duro

3шт.

32

9991976

O-RING,0.07" Thk x 0.739" ID, -18, Cl 6, 90 Duro

1шт.

33

245483C1

ELEC CONNECTOR,Male, 2 Pin

Incl in 22

1шт.

Выбрано товаров: 34