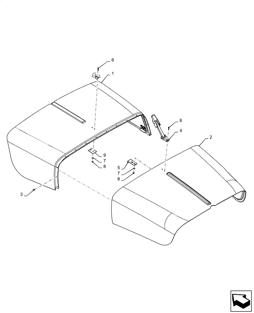
Запчасти Case IH PATRIOT 3240 (90.100.AU[02]) - ENGINE HOOD ACCESS PANEL (90) - PLATFORM, CAB, BODYWORK AND DECALS

Схема запчастей Case IH PATRIOT 3240 - (90.100.AU[02]) - ENGINE HOOD ACCESS PANEL (90) - PLATFORM, CAB, BODYWORK AND DECALS
6
1
4
3
5
7
6
9
8
7
8
2
FIT
1:1
100%

Артикул

Название

Примечание

Количество

1

47362443

HOOD

Access Cover, Front

1шт.

2

47362444

HOOD

Access Cover, Rear

1шт.

3

87268898

RIVET

Black, Nylon, 1/4"

14шт.

4

BN310732

LATCH

Hood

1шт.

5

84373390

SUPPORT

Hood Latch

1шт.

6

87343627

SCREW

Hex Socket, 6.6 x 18 x 1.6 MM, DOR

4шт.

7

87529302

WASHER,6.6mm ID x 18mm OD x 1.6mm Thk

4шт.

8

86980513

NUT,Prev Torque, Hex, M6, 1mm Pitch, Cl 8, DOR

4шт.

9

BN315616

LATCH

Mount

1шт.

Выбрано товаров: 9