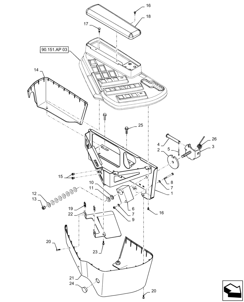
Запчасти Case IH PATRIOT 3240 (90.151.AP[02]) - ARMREST CONSOLE, COMPONENTS (90) - PLATFORM, CAB, BODYWORK AND DECALS

Схема запчастей Case IH PATRIOT 3240 - (90.151.AP[02]) - ARMREST CONSOLE, COMPONENTS (90) - PLATFORM, CAB, BODYWORK AND DECALS
14
2
21
7
23
19
25
6
22
24
10
13
3
11
20
20
8
17
1
9
15
4
7
16
5
90.151.ap 03
12
18
26
16
FIT
1:1
100%

Артикул

Название

Примечание

Количество

1

87492832

MOUNT

Console Mount

1шт.

2

47581798

THRUST WASHER

1шт.

3

47581799

SUPPORT

Prop Lever Control

1шт.

4

27-8343

CLEVIS PIN,12.7mm OD x 87.33mm L

1шт.

5

432-816

COTTER PIN,1/8" x 1"

1шт.

6

87492829

MOUNT

Sensor

1шт.

7

87529314

WASHER,6.6mm ID x 12.5mm OD x 2mm Thk

2шт.

8

86980367

BOLT,Hex, M6 x 60mm, Cl 8.8

M6 x 60, DOR

1шт.

9

86980513

NUT,Prev Torque, Hex, M6, 1mm Pitch, Cl 8, DOR

1шт.

10

159688R91

THRUST BEARING

1шт.

11

87529248

WASHER,0.47" ID x 1" OD x 0.1" Thk

0.469 x 1 x 0.105, DOR

1шт.

12

1994980C1

BELLEVILLE WASHER

M10

8шт.

13

BN305066

NUT,7/16" - 14, Gr 8

7/16 - 14, Flange

1шт.

14

130412A1

COVER

Console Skirt, Rear

1шт.

14

48011529

COVER

RH Console

1шт.

15

336304A1

INSERT

Rivnut

14шт.

16

87343621

SCREW,Hex Wshr Hd, M4 x 10mm, Cl 4.9, Full Thd

4шт.

17

86980360

BOLT,Hex, M6 x 1 x 20mm, Cl 8.8, Full Thd

1шт.

18

128970A3

ARMREST

Console

1шт.

19

131-642

SPRING NUT,Tinn, U, #10

4шт.

20

86900238

SELF-TAP SCREW,Phillips Drive, Pan HD, #10 - 16 x 3/4"

4шт.

21

87270585

COVER

Console Skirt, Front

1шт.

22

87270759

PLATE

Blockoff, RH Console

1шт.

23

87343600

SCREW,Phil Pan Hd, M5 x 16mm, Cl 4.8, Full Thd

2шт.

24

353-411

PLUG,Dome, 1.000" hole, Nylon

1шт.

25

86981482

BOLT,Hvy Hex Flg, M8 x 30mm, Cl 8.8, Full Thd

4шт.

26

128593A1

SPRING

Torsion

1шт.

Выбрано товаров: 27