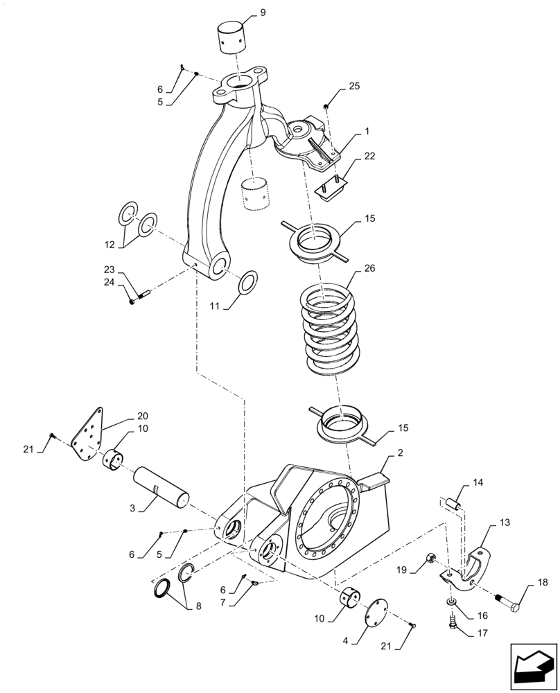
Запчасти Case IH PATRIOT 3240 (25.100.BB[01]) - STRUT, LH, FRONT AND REAR (25) - FRONT AXLE SYSTEM

Схема запчастей Case IH PATRIOT 3240 - (25.100.BB[01]) - STRUT, LH, FRONT AND REAR (25) - FRONT AXLE SYSTEM
10
15
2
25
15
26
3
21
13
5
18
10
22
21
5
17
16
6
6
8
23
1
6
12
24
4
11
20
14
9
19
7
FIT
1:1
100%

Артикул

Название

Примечание

Количество

1

47753019

ARM

Upper Suspension Arm, LH, Machined

1шт.

2

84413309

ARM

Lower Suspension Arm, Trailing LH, Machined

1шт.

3

BN302046

SHAFT

Lower Strut

1шт.

4

BN302045

CAP

Plate, Dust, Suspension

1шт.

5

BN302051

NIPPLE, LUBE,M8 x 1, Straight

3шт.

6

BN69951

CAP

Grease

4шт.

7

713608R91

LUBE NIPPLE,90 Degree, M8 x 1

1шт.

8

BN302044

SEAL,63.5mm ID x 76.2mm OD x 6.35mm Thk

Lower

2шт.

9

87689147

NYLON BEARING,90.65mm ID x 95.35mm OD x 90mm L

Sleeve, Suspension

2шт.

10

87552137

BEARING COVER

Sleeve Lower

2шт.

11

BN302048

SHIM,64.01mm ID x 98.55mm OD x 2.55mm Thk

Machine Bushing

1шт.

12

BN302047

SHIM,64mm ID x 98.3mm OD x 1.44mm Thk

Machine Bushing

2шт.

13

BN302031

MOUNTING PARTS

Shock, Lower

1шт.

14

87269215

SPACER

Shock, Suspension

1шт.

15

BN316108

GUIDE

Guide, Spring Adaptor

2шт.

16

87310607

WASHER,17.5mm ID x 34mm OD x 5mm Thk

17.5mm x 34mm x 5mm

2шт.

17

86980444

BOLT,Hex, M16 - 2 x 40mm, Cl 8.8, DOR

2шт.

18

87269216

BOLT

Shock

1шт.

19

86980518

NUT,Hex, M20 - 2.5, Cl 8.8, DOR

1шт.

20

86986092

DUST CAP

Plate, Suspension

1шт.

21

86980379

BOLT,Hex, M8 x 1.25 x 20mm, Cl 8.8

8шт.

22

BN306889

BUMPER

Jounce

1шт.

23

BN321041

SET SCREW

Cup Point

1шт.

24

87344035

NUT

Thin

1шт.

25

BN50759

LOCK NUT,3/8"-16, Nylon, Stainless

2шт.

26

87267913

SPRING

Coil, Suspension, Turned and Polished Material

1шт.

Выбрано товаров: 26