Запчасти Case IH PATRIOT 3340 (78.110.AE[11]) - SPRAYBAR, 90, 6 SECTION, 20" SPACING, LH OUTER AND BREAKAWAY (78) - SPRAYING

Схема запчастей Case IH PATRIOT 3340 - (78.110.AE[11]) - SPRAYBAR, 90, 6 SECTION, 20" SPACING, LH OUTER AND BREAKAWAY (78) - SPRAYING
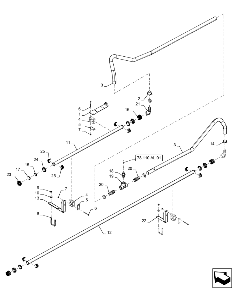
16
13
3
20
9
7
11
25
6
22
1
78.110.al 01
21
18
5
6
19
20
2
5
3
4
8
25
23
17
24
10
7
4
15
14
12
FIT
1:1
100%

Артикул

Название

Примечание

Количество

1

84265002

RETAINER

Hose

1шт.

2

BN310448

HOSE CLAMP

# 28 SST

1шт.

3

BN53479

HOSE,1.00" ID BULK

1шт.

5

BN309483

PLATE

Single Cover

5шт.

4

BN67054

CLAMP

Wet Boom, 1.315" OD

5шт.

6

BN67050

BOLT,1/4"-20 X 3.00", Stainless Steel

10шт.

7

BN55359

LOCK NUT,1/4"-20, SS

10шт.

8

47650282

U-BOLT

M 10, Square

8шт.

9

86980515

NUT,Hex, M10 x 1.5, Cl 8.8, DOR

16шт.

10

87529312

WASHER,11mm ID x 24mm OD x 3mm Thk

16шт.

11

84159733

BOOM,20/30" Nozzle Spacing

Spraybar, 3 Hole, 20" Spacing, 44-1/2" Long

1шт.

12

87671762

BOOM,106" Long, 6 Holes, 20" Nozzle Spacing

Spraybar, 6 Hole, 20" Spacing, 106" Long

1шт.

13

84532753

MOUNT

Spraybar, Breakaway

2шт.

14

BN310447

HOSE CLAMP

# 20 SST

6шт.

15

84181302

SEALING RING

Rectangular Profile, 1-5/16" x 1-9/16", CL 5

4шт.

16

87630102

FITTING,Adapter Coupler Body - TWS X 1 1/4" NPT FE

3шт.

17

87630099

PLUG,1" SST

Flange Cap For Spraybar

1шт.

18

BN73649

NIPPLE,1" x 3/4" Poly Reducing Nipple

Reducer, 1" MPT x 3/4" MPT

1шт.

19

BN73629

TEE

1" FPT

1шт.

20

BN53476

FITTING,1" Male NPT x 1" Hose Barb, Poly

Straight, 1" MPT x 1" Hose Barb

2шт.

21

BN2296590

90 ELBOW

1-1/4" MPT x 1" Hose Barb

1шт.

22

BN323957

BRACKET

Spraybar, Inner / Outer

2шт.

23

87630105

NUT

Quick Nut

1шт.

24

87630103

FITTING

Binding Ring

4шт.

25

87630104

FITTING,TWS Male End Adapter Assy - 1.315" Tube

Split Sleeve

4шт.

Выбрано товаров: 25