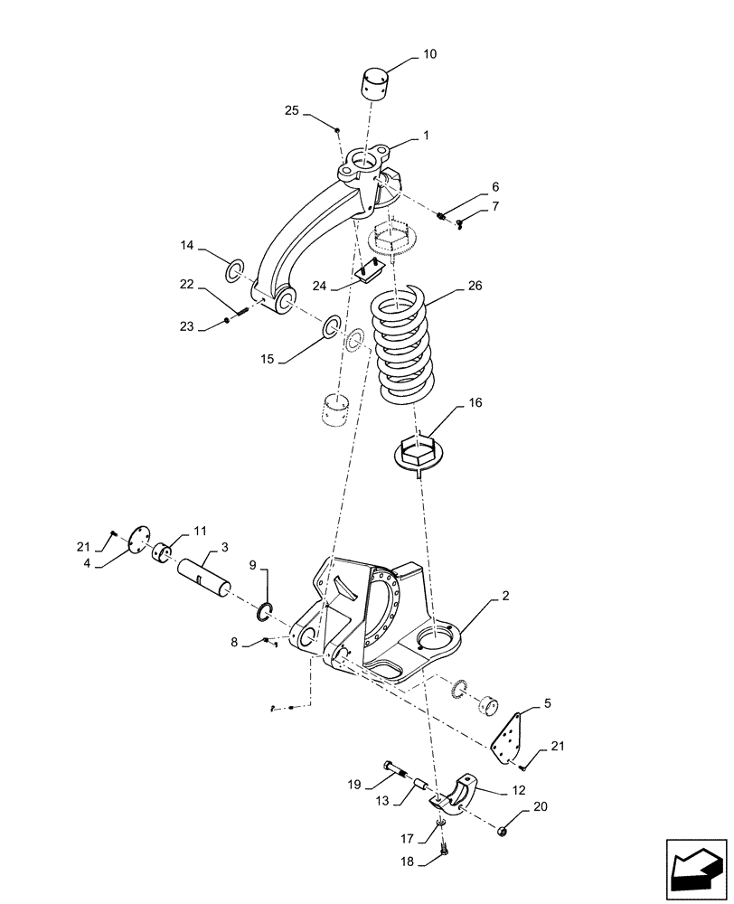
Запчасти Case IH PATRIOT 4440 (48.110.AD[01]) - STRUT, RIGHT, ASSY (48) - TRACKS & TRACK SUSPENSION

Схема запчастей Case IH PATRIOT 4440 - (48.110.AD[01]) - STRUT, RIGHT, ASSY (48) - TRACKS & TRACK SUSPENSION
12
4
6
22
21
25
21
10
7
3
16
17
15
5
20
24
9
19
18
13
14
26
11
23
8
1
2
FIT
1:1
100%

Артикул

Название

Примечание

Количество

1

47753017

ARM

Suspension, Upper, RH

1шт.

2

84413313

ARM,Trailing, RH Lower

Trailing Link, RH

1шт.

3

BN302046

SHAFT

Lower, Strut

1шт.

4

BN302045

CAP

Dust

1шт.

5

86986092

DUST CAP

Suspension

1шт.

6

BN302051

NIPPLE, LUBE,M8 x 1, Straight

3шт.

7

BN69951

CAP

Cap, Grease

4шт.

8

713608R91

LUBE NIPPLE,90 Degree, M8 x 1

1шт.

9

BN302044

SEAL,63.5mm ID x 76.2mm OD x 6.35mm Thk

Lower

2шт.

10

87689147

NYLON BEARING,90.65mm ID x 95.35mm OD x 90mm L

SLEEVE, GSM BLUE

2шт.

11

87552137

BEARING COVER

Sleeve, Lower

2шт.

12

BN302031

MOUNTING PARTS

Shock, Lower

1шт.

13

87269215

SPACER

Shock, Suspension

1шт.

14

BN302048

SHIM,64.01mm ID x 98.55mm OD x 2.55mm Thk

3.88" OD x 2.52" ID x 14 GA

1шт.

15

BN302047

SHIM,64mm ID x 98.3mm OD x 1.44mm Thk

Machine Bushing, Wide, 3.87" OD x 2.52" ID x 18 GA

2шт.

16

84395510

MOUNT

Adaptor, Spring

2шт.

17

87310607

WASHER,17.5mm ID x 34mm OD x 5mm Thk

17.5mm x 34mm x 5 mm, HDN, DOR

2шт.

18

86980444

BOLT,Hex, M16 - 2 x 40mm, Cl 8.8, DOR

2шт.

19

87269216

BOLT

Shock, M20 - 2.5, DOR

1шт.

20

86980518

NUT,Hex, M20 - 2.5, Cl 8.8, DOR

1шт.

21

86980379

BOLT,Hex, M8 x 1.25 x 20mm, Cl 8.8

8шт.

22

BN321041

SET SCREW

M12 x 55mm, Cup ZN

1шт.

23

87344035

NUT

Jam, M12, CL5 DOR

1шт.

24

BN306889

BUMPER

Jounce, 2.5" x 4.5" x 1.5"

1шт.

25

BN50759

LOCK NUT,3/8"-16, Nylon, Stainless

2шт.

26

84380018

COIL SPRING

Suspension

1шт.

Выбрано товаров: 26