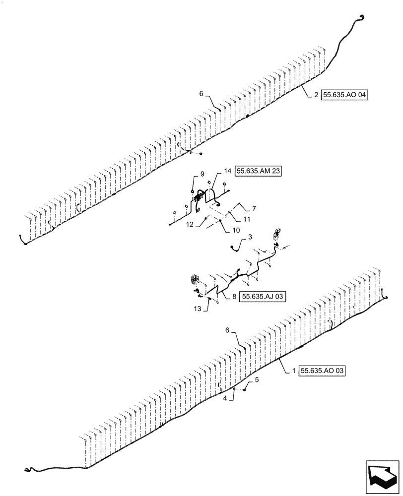
Запчасти Case IH PATRIOT 4440 (55.101.AC[14]) - BOOM HARNESS, 120 LAYOUT, BSN YGT044001 (55) - ELECTRICAL SYSTEMS

Схема запчастей Case IH PATRIOT 4440 - (55.101.AC[14]) - BOOM HARNESS, 120 LAYOUT, BSN YGT044001 (55) - ELECTRICAL SYSTEMS
55.635.ao 03
14
2
7
5
6
8
9
11
13
3
1
10
4
12
6
55.635.aj 03
55.635.ao 04
55.635.am 23
FIT
1:1
100%

Артикул

Название

Примечание

Количество

1

87479157

HARNESS

LH, 7 Section, 120'

1шт.

2

87479158

HARNESS

RH, 7 Section, 120'

1шт.

3

86986400

SWITCH

Pressure, PLMF

1шт.

4

87529314

WASHER,6.6mm ID x 12.5mm OD x 2mm Thk

2шт.

5

86980513

NUT,Prev Torque, Hex, M6, 1mm Pitch, Cl 8, DOR

2шт.

6

BN570007

STRAP

14" Zip Tie

144шт.

7

86980380

BOLT,Hex, M8 x 1.25 x 25mm, Cl 8.8, Full Thd

1шт.

8

47750805

WIRE HARNESS

Rear Light Extension

1шт.

9

86991007

CABLE TIE,509mm L

5шт.

10

84407295

BASE

Tie, M8 Stud

21шт.

11

87529316

WASHER,9mm ID x 21mm OD x 2.5mm Thk

21шт.

12

86980514

LOCK NUT,Hex, M8, Cl 8, DOR

21шт.

13

84474186

BASE

Tie

2шт.

14

84281621

HARNESS

Hydraulic Control Center Section

1шт.

Выбрано товаров: 0