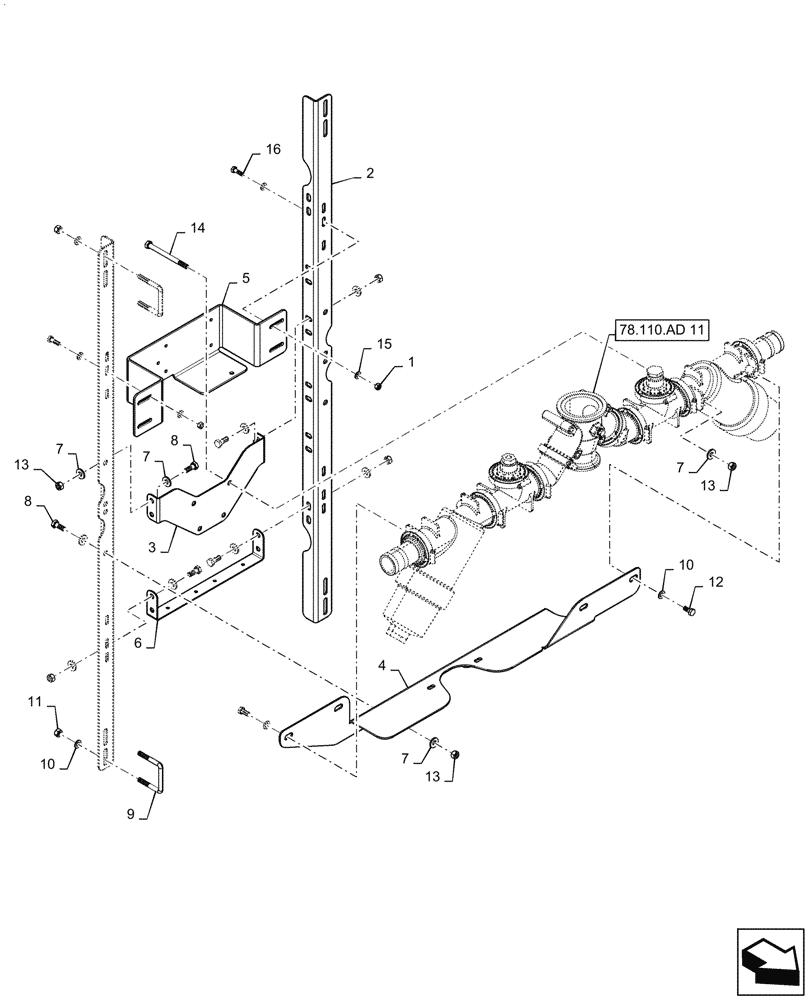
Запчасти Case IH PATRIOT 4440 (78.110.AD[10.1]) - CENTER SECTION, 2" MANIFOLD MOUNTING, ASN YGT044000 (78) - SPRAYING

Схема запчастей Case IH PATRIOT 4440 - (78.110.AD[10.1]) - CENTER SECTION, 2" MANIFOLD MOUNTING, ASN YGT044000 (78) - SPRAYING
78.110.ad 11
13
13
8
12
7
7
7
2
8
1
14
6
3
13
11
9
10
4
10
5
16
15
7
FIT
1:1
100%

Артикул

Название

Примечание

Количество

1

86980514

LOCK NUT,Hex, M8, Cl 8, DOR

4шт.

2

48008428

MOUNT

Verticals

2шт.

3

47889236

MOUNT

Center

1шт.

4

47889238

MOUNT

Strainers

1шт.

5

48004876

BRACKET

Node Mount

1шт.

6

48004878

BRACKET

Electrical Component

1шт.

7

87529312

WASHER,11mm ID x 24mm OD x 3mm Thk

28шт.

8

86980400

BOLT,Hex, M10 x 25mm, Cl 8.8, Full Thd

10шт.

9

87586548

U-BOLT

M10, 2 1/2" x 3"

4шт.

Used on 2" Manifolds, 100' Booms

1шт.

9

BN319918

U-BOLT,SQ BND 1.31" ID x 3/8"

4шт.

Used on 1 1/2" Mamifolds, 90' & Low Flow 100'

1шт.

10

BN50146

WASHER,3/8", Stainless

12шт.

11

87344003

NUT,M10-1.5, 10, DOR

8шт.

12

87342763

BOLT,Hex, 3/8" - 16 x 3/4", Gr 5, Full Thd

4шт.

13

86980515

NUT,Hex, M10 x 1.5, Cl 8.8, DOR

14шт.

14

86980412

BOLT,Hex, M10 x 1.5 x 120mm, Cl 8.8

4шт.

15

87529315

WASHER,9mm ID x 17mm OD x 2mm Thk

8шт.

16

86980380

BOLT,Hex, M8 x 1.25 x 25mm, Cl 8.8, Full Thd

4шт.

Выбрано товаров: 19