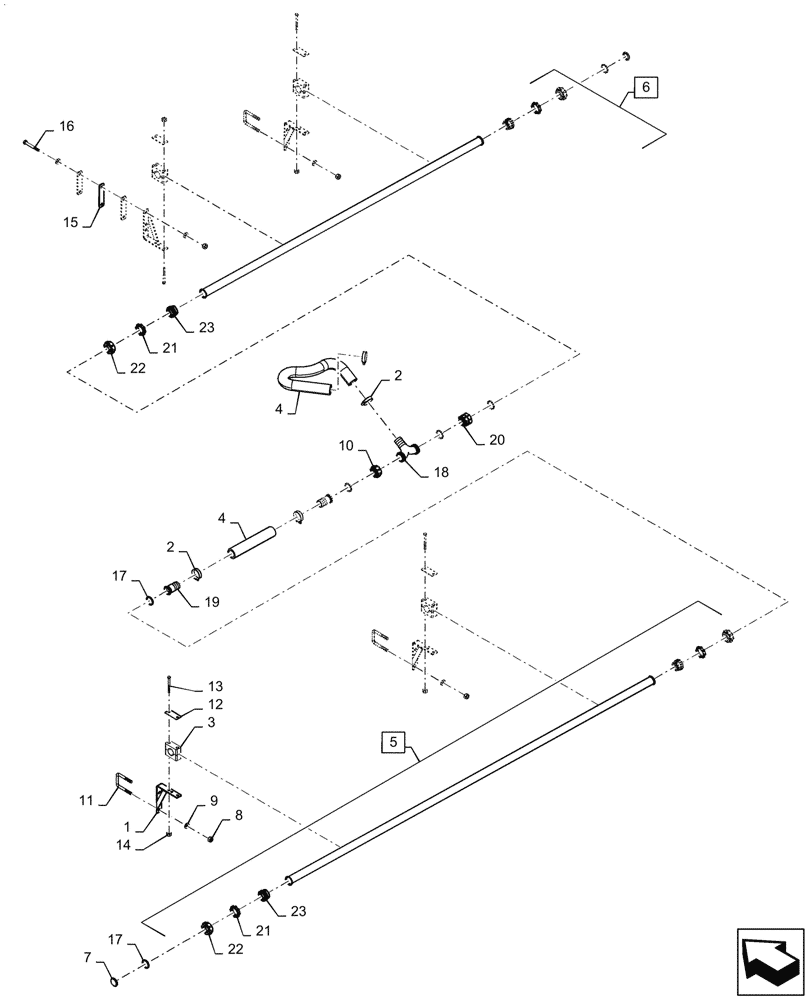
Запчасти Case IH PATRIOT 4440 (78.110.AE[15.2]) - SPRAYBAR, 120, 7 SECTION, 20" SPACING, LH MID BOOM, U BOLT SPRAYBAR MOUNTS, ASN YGT044000 (78) - SPRAYING

Схема запчастей Case IH PATRIOT 4440 - (78.110.AE[15.2]) - SPRAYBAR, 120, 7 SECTION, 20" SPACING, LH MID BOOM, U BOLT SPRAYBAR MOUNTS, ASN YGT044000 (78) - SPRAYING
23
8
4
3
6
7
22
22
2
16
12
10
2
15
21
21
17
4
1
5
20
14
18
17
13
11
23
9
19
FIT
1:1
100%

Артикул

Название

Примечание

Количество

1

84490175

MOUNT

Spraybar

4шт.

2

BN320156

HOSE CLAMP

#24, SST

4шт.

3

BN67054

CLAMP

1.315" OD

4шт.

4

BN29563

HOSE

Bulk 1.25" EPDM, Discharge, 16' Roll

1шт.

5

87671763

BOOM,85" Long, 5 Holes, 20" Nozzle Spacing

Spraybar, Incl 21 - 23

1шт.

6

87671764

BOOM,64-1/2" Long, 4 Holes, 20" Nozzle Spacing

Spraybar, Incl 21 - 23

1шт.

7

87630099

PLUG,1" SST

Flange Cap

2шт.

8

86980515

NUT,Hex, M10 x 1.5, Cl 8.8, DOR

8шт.

9

87529312

WASHER,11mm ID x 24mm OD x 3mm Thk

8шт.

10

87638736

FITTING,QN 1" - Nut

Nut, Quick, 1 - 1/4" NPT, Poly

1шт.

11

47650282

U-BOLT

M10, 3 1/4" Long x 2 3/8" Wide

3шт.

12

BN309483

PLATE

Clamp Top, Single Clamp

4шт.

13

BN67050

BOLT,1/4"-20 X 3.00", Stainless Steel

8шт.

14

BN55359

LOCK NUT,1/4"-20, SS

8шт.

15

87484194

PLATE

Spraybar Backer

3шт.

16

86980408

BOLT,Hex, M10 x 1.5 x 80mm, Cl 8.8

2шт.

17

84181302

SEALING RING

Rectangular, 1 - 5/16" x 1 - 9/16" Class 5

4шт.

18

87630101

FITTING,Tee, PP

1 - 1/4" MPT x 1 - 1/4" MPT x 1 - 1/4" HB

1шт.

19

87630096

FITTING,QN Hose Shank - 1" SST X 1 1/4" Straight Shank

1шт.

20

87630102

FITTING,Adapter Coupler Body - TWS X 1 1/4" NPT FE

1шт.

21

87630103

FITTING

Binding Ring, Spraybar

2шт.

22

87630105

NUT

Nut, Quick, Spraybar

2шт.

23

87630104

FITTING,TWS Male End Adapter Assy - 1.315" Tube

Split Sleeve, Spraybar

2шт.

Выбрано товаров: 23