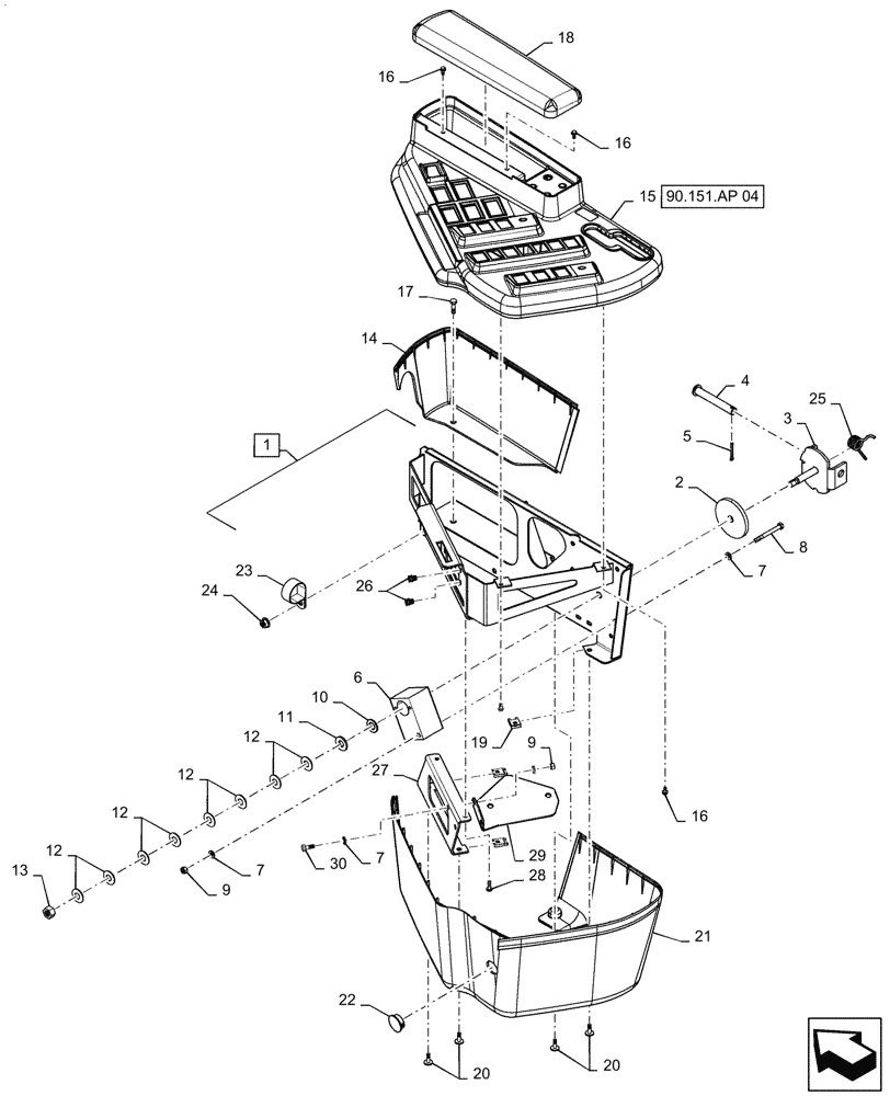
Запчасти Case IH PATRIOT 4440 (90.151.AP[01.1]) - RH CONSOLE ASSY, ASN YGT044000 (90) - PLATFORM, CAB, BODYWORK AND DECALS

Схема запчастей Case IH PATRIOT 4440 - (90.151.AP[01.1]) - RH CONSOLE ASSY, ASN YGT044000 (90) - PLATFORM, CAB, BODYWORK AND DECALS
90.151.ap 04
8
13
23
18
11
25
16
24
20
14
17
10
16
15
2
12
6
12
16
26
7
12
19
12
21
20
22
28
5
7
27
30
1
7
4
3
29
9
9
FIT
1:1
100%

Артикул

Название

Примечание

Количество

1

48011537

MOUNT

RH Console, Incl 26

1шт.

2

47581798

THRUST WASHER

Wear

1шт.

3

47581799

SUPPORT

Propel Lever Control

1шт.

4

27-8343

CLEVIS PIN,12.7mm OD x 87.33mm L

1шт.

5

432-816

COTTER PIN,1/8" x 1"

1шт.

6

87492829

MOUNT

Propel Level Position Sensor

1шт.

7

87529314

WASHER,6.6mm ID x 12.5mm OD x 2mm Thk

6шт.

8

86980367

BOLT,Hex, M6 x 60mm, Cl 8.8

DOR

1шт.

9

86980513

NUT,Prev Torque, Hex, M6, 1mm Pitch, Cl 8, DOR

3шт.

10

159688R91

THRUST BEARING

16 Rollers

1шт.

11

87529248

WASHER,0.47" ID x 1" OD x 0.1" Thk

DOR

1шт.

12

1994980C1

BELLEVILLE WASHER

Friction Control

8шт.

13

BN305066

NUT,7/16" - 14, Gr 8

1шт.

14

130412A1

COVER

RH Console, Rear Skirt

1шт.

15

48011529

COVER

1шт.

16

87343621

SCREW,Hex Wshr Hd, M4 x 10mm, Cl 4.9, Full Thd

4шт.

17

86980360

BOLT,Hex, M6 x 1 x 20mm, Cl 8.8, Full Thd

1шт.

18

128970A3

ARMREST

RH Console

1шт.

19

131-642

SPRING NUT,Tinn, U, #10

4шт.

20

357481A1

SCREW,Truss, #10 - 16 x 3/4"

4шт.

21

118321A2

SKIRT

RH Console, Front Skirt

1шт.

22

353-426

PLUG,1" Hole, Nylon

1шт.

23

86639002

CLAMP,34.9mm, Coat, 11.9mm Bolt Hole, P Type

1шт.

24

87344227

SERRATED NUT

Serrated, M8, SPL, DOR

1шт.

25

128593A1

SPRING

Propulsion Handle Torsion

1шт.

26

336304A1

INSERT

Threaded

6шт.

27

48015258

MOUNT

RH Console

1шт.

28

87343600

SCREW,Phil Pan Hd, M5 x 16mm, Cl 4.8, Full Thd

2шт.

29

48015246

PLATE

Blockoff, RH Console

1шт.

30

86980359

BOLT,Hex, M6 x 1 x 16mm, Cl 8.8

2шт.

Выбрано товаров: 30