Запчасти Case IH 100 (39.100.20) - SUSPENDED BOOM - FRONT AND REAR PANEL ASSEMBLY (39) - FRAMES AND BALLASTING

Схема запчастей Case IH 100 - (39.100.20) - SUSPENDED BOOM - FRONT AND REAR PANEL ASSEMBLY (39) - FRAMES AND BALLASTING
5
14
10
9
3
2
4
8
12
6
13
11
7
10
1
3
5
9
16
15
5
12
7
FIT
1:1
100%

Артикул

Название

Примечание

Количество

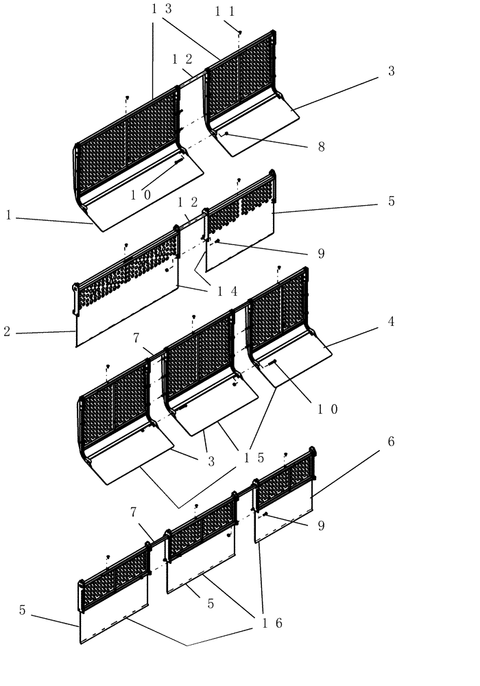
1

87558398

PANEL

windscreen 30" front poly

1шт.

2

8321

PANEL

windscreen 30" rear poly

1шт.

3

8481

PANEL

windscreen 20" front poly

3шт.

4

8482

PANEL

windscreen 17" front poly

1шт.

5

8483

PANEL

windscreen 20" rear poly

3шт.

6

8484

PANEL

windscreen 17" rear poly

1шт.

7

8827

TUBE

square aluminum 29/64" x 56 3/4"

2шт.

7

87504866

TUBE,1692 mm L

square aluminum 119 mm x ong 1692 mm L

2шт.

7

87504867

TUBE,1616 mm L

square aluminum 11.9 mm x ong 1616 mm L

2шт.

8

8914

LOCK NUT

1/4"-20 stainless steel nylon

20шт.

9

8919

SCREW,Pan Hd, 1/4" - 20 x 3/4", Sl Sq Drive, Stainless

1/4"-20 x 3/4" - stainless steel

10шт.

10

9711

SCREW,Pan Hd, 1/4" - 20 x 1.75"

mch 1/4"-20 x 1 3/4"

10шт.

11

22537

SELF-TAP SCREW

#8 X 1/2" ph sd pi ss

10шт.

12

87501989

TUBE,1263.7 mm L

square aluminum 11.9 mm x ong 1263.7 mm L

2шт.

12

87501990

TUBE,1187.5 mm L

square aluminum 11.9 mm x ong 1187.5 mm L

2шт.

13

87501991

PANEL

front lf 50" windscreen, Incl 1, 3, 8, 10 - 12

1шт.

13

87501993

PANEL

front rf 50" windscreen, Incl 1, 3, 8, 10 - 12

1шт.

13

87501995

PANEL

front lf 47" windscreen, Incl 1, 4, 8, 10 - 12

1шт.

13

87501997

PANEL

front rf 47" windscreen, Incl 1, 4, 8, 10 - 12

1шт.

14

87501992

PANEL

rear lr 50" windscreen, Incl 1, 2, 5, 8, 9, 11

1шт.

14

87501994

PANEL

rear rr 50" windscreen, Incl 1, 2, 5, 8, 9, 11

1шт.

14

87501996

PANEL

rear lr 47" windscreen, Incl 2, 6, 8 - 9, 11 - 12

1шт.

14

87501998

PANEL

rear rr 47" windscreen, Incl 2, 6, 8 - 9, 11 - 12

1шт.

15

NS

NOT SERVICED

PANEL windscreen assembly, front left - 57"

1шт.

15

NS

NOT SERVICED

PANEL windscreen assembly, front right- 57"

1шт.

15

NS

NOT SERVICED

PANEL assembly ws 67" front lt

1шт.

15

NS

NOT SERVICED

PANEL assembly ws 67" front rt

1шт.

16

NS

NOT SERVICED

PANEL windscreen assembly, rear left - 57"

1шт.

16

NS

NOT SERVICED

PANEL windscreen assembly, rear right - 57"

1шт.

16

NS

NOT SERVICED

PANEL assembly ws 64" rear

1шт.

Выбрано товаров: 30