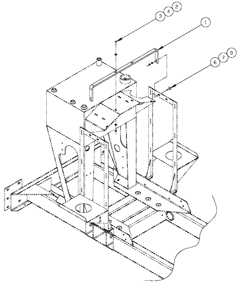
Запчасти Case IH SPX2130 (09-016) - RINSE AND FOAM BRACE ASSEMBLY Liquid Plumbing

Схема запчастей Case IH SPX2130 - (09-016) - RINSE AND FOAM BRACE ASSEMBLY Liquid Plumbing
3
1
5
7
6
2
4
FIT
1:1
100%

Артикул

Название

Примечание

Количество

1

BN23293

SUPPORT

Foam & Rinse Tanks

1шт.

2

BN50403

BOLT

2шт.

3

BN50061

LOCK NUT

3/8"-16, G5, UNC, Whiz

2шт.

4

BN50145

WASHER

3/8, FW, G5

4шт.

5

BN50930

BOLT,5/16"-18 x 1.5", EH, DOR

2шт.

6

BN50056

LOCK NUT

5/16"-18, Whiz

2шт.

7

87529240

WASHER,0.53" ID x 1.06" OD x 0.13" Thk

0.531 x 1.062 x 0.134 HTS DOR HDN

2шт.

Выбрано товаров: 7