Запчасти Case IH SPX2130 (11-001) - CROP GUARD ASSEMBLY Options

Схема запчастей Case IH SPX2130 - (11-001) - CROP GUARD ASSEMBLY Options
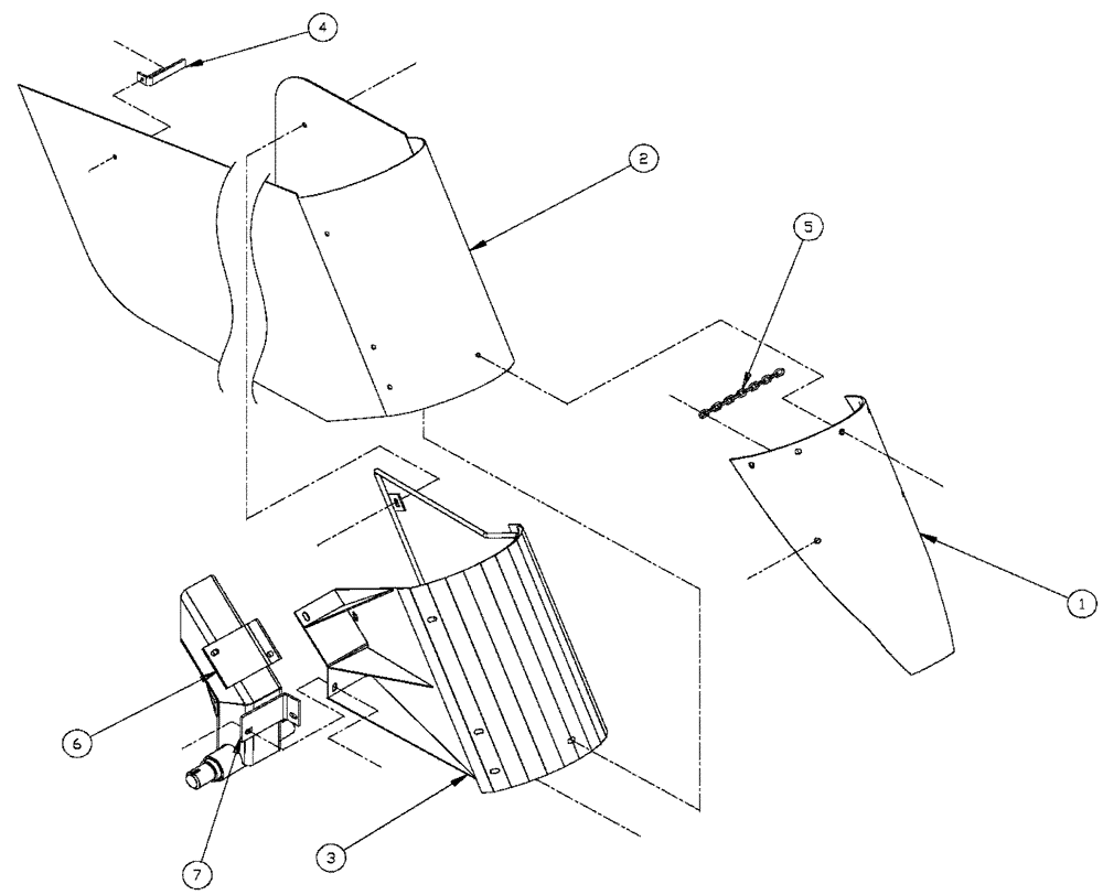
4
1
2
3
5
6
7
FIT
1:1
100%

Артикул

Название

Примечание

Количество

1

BN65826

GUARD

Crop LH

2шт.

Shown

1шт.

1a

BN65827

GUARD

Crop RH

2шт.

Same Part Of Crop Guard LH, P/N. "65826" But Opposite Side

1шт.

2

BN65831

SHIELD

Plastic

4шт.

3

BN65820

GUARD

Crop - LH Upper

2шт.

Shown

1шт.

3a

BN65821

GUARD

Crop -RH Upper

2шт.

Same Part Of Crop Guard Weldment-LH, P/N. "65820" But Opposite Side

1шт.

4

BN65816

MOUNTING PLATE

Guard

4шт.

5

BN65847

CHAIN

Tension

4шт.

6

BN63728

MOUNTING PLATE

1/4 HRS 5.0 X 8.25

2шт.

7

BN63730

MOUNTING PLATE

1/4 HRS 3.25 X 8.25

2шт.

Выбрано товаров: 13