Качественные детали и логистика
Оригинальные и аналоговые запчасти с доставкой по России, Казахстану и Беларуси
©2022 PartSell ООО "Система" ИНН 2463123282 ОГРН 1212400004838
Центральный офис: г. Красноярск, Академика Киренского, д.87, пом.4
Телефон: 8 (800) 777-65-74 Email: zakaz@partsell.ru
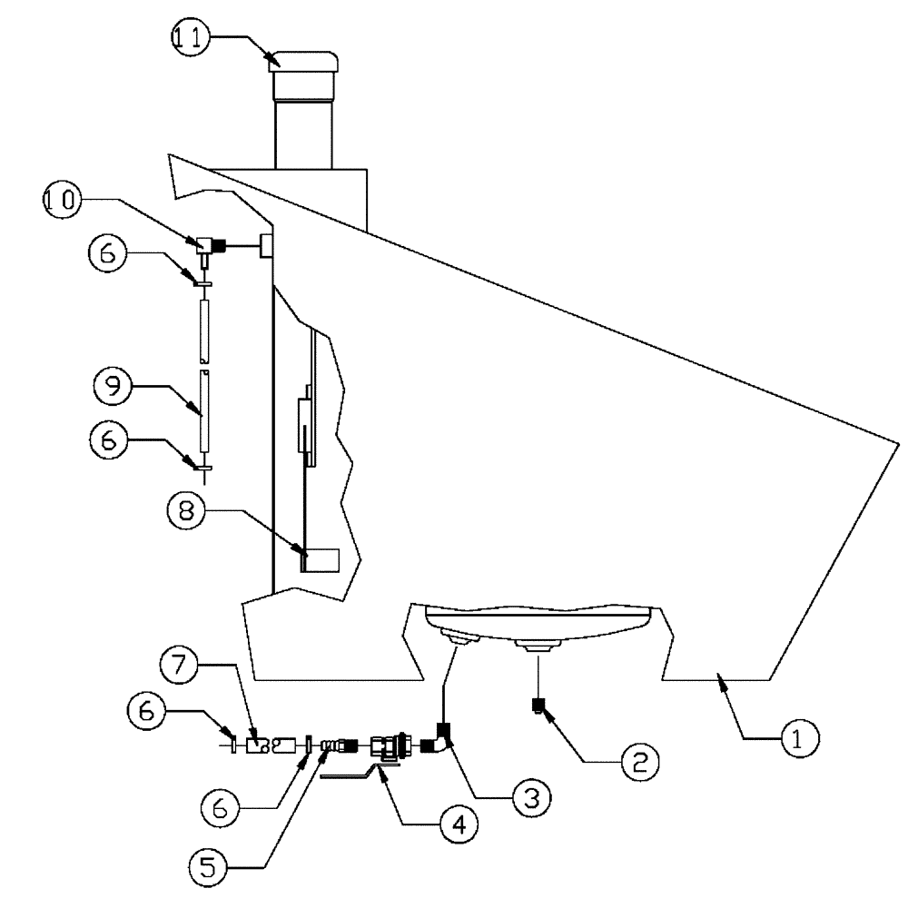
(04-008) - FUEL TANK ASSEMBLY
№
Артикул
Название
Примечание
Количество
1
BN29300
FUEL TANK
1шт.
2
BN72220
PLUG
3
BN52300
ELBOW
90° 1/4"
4
BN94071
VALVE
Ball Valve - 1/4" NPT Bronze
5
BN72017
HOSE
barb-1/4" NPTM x 3/8" steel
6
BN76094
HOSE CLAMP
SS #M4
4шт.
7
BN24625
Fuel, 3/8" ID X 240"
8
BN29308
SENDER UNIT
Fuel Tank
9
BN24626
Return Fuel Hose - 1/4" ID X 240"
10
BN52303
FITTING
90°
11
BN27530
CAP
Gas, Vented
Выбрано товаров: 0